ISGD立式单级单吸低转速增压管道清水泵
ISGD立式单级单吸低转速增压管道清水泵
ISGD立式单级单吸低转速增压管道清水泵

产品型号:

产品介绍

型号意义

 

产品简介
ISGD管道清水泵根据IS单级单吸离心泵与管道泵之性能参数,参照ISO2858和的国家管道泵标准JB/T53058-93进行设计制造的高效节能产品。该泵采用力模型优化设计而成。同时根据使用温度、介质等不同在ISG型基础上派生出热水泵、高温泵、化工泵、油泵等,是目前国家标准定型推广产品。

 

产品特点
1、泵为立式结构,进出口口径相同,且们于同一中心线上,可像阀门一样安装于管路之中,外形紧凑美观,占地面积小,建筑投入低,如加上防护罩则可置于户外使用.
2、叶轮直接安在电机的加长轴上,轴向尺寸短,结构紧凑,泵与电机轴承配置合理,能有效地平衡泵运转产生的径向和轴向负荷,从而保证了泵的运行平衡振动噪音很低。
3、轴封采用机械密封或机械密封组合,采用进口钛合金密封环、中型耐高温机械密封和采用硬质合金材质,耐磨密封,能有效地增长机械密封的使用寿命。
4、安装检修方便,无需拆动管路系统,只要卸下泵联体座螺母即可抽出全部转子部件。
5、可根据使用要求即流量和扬程的需要采用泵的串、并联运行方式。
6、可根据管路布置的要求采用泵的竖式和横式安装。

 

产品用途
1、ISG管道清水泵,供输送清水及物理化学性质类似于清水的其他液体之用,适用于工业和城市给排水,高层建筑增压送水,园林灌溉,消防增压及设备配套,使用温度T:≤80℃。
2、IRG(GRG)型热水(高温)循环泵广泛适用于能源、冶金、化工、纺织、造纸、以及宾馆饭店等锅炉高温热水增压循环输送及城 市采暖系统循环用泵,IRG使用温度T:≤120℃、GRG使用温度T:≤240℃。
3、IHG立式不锈钢化工泵,供输送不含固体颗粒,具有腐蚀性,粘度类似于水的液体,适用于石油、化工、冶金 电力、造纸、食品、制药和合成纤维等部门,使用温度T:-20℃-120℃。
4、YG管道油泵,供输送汽油、柴油、煤油等石油产品,使用温度T:-20℃-120℃。

 

使用条件
1、 吸入压力≤1.0Mpa,或泵系统工作压力≤1.6Mpa,即泵吸入口压力+泵扬程≤1.6Mpa、泵静压试验压力为2.5Mpa,订货时请注明系统工作压力。泵系统工作压力大于1.6Mpa时应在订货时另行提出,以便在制造时泵的过流部件和联接部分采用铸钢材料。
2、 环境温度<40℃,相对湿度<95%。
3、 所输送介质中固体颗粒体积含量不超过单位体积的0.1%,粒度<0.2mm.
注:如使用介质为带有细小颗粒,请在订货时说明,以便采用耐磨式机械密封。

 

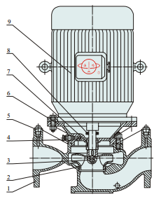
结构示意图

ISG管道清水泵泵结构示意图

序号

名称

序号

名称

1

泵体

6

泵盖

2

叶轮

7

机械密封

3

叶轮螺母

8

挡水圈

4

放气阀

9

电机

5

螺塞




 

性能参数

型号

口径

流量

扬程

效率

转速

电机功率

必需汽蚀余量

重量

mm

m3/h

L/S

m

%

r/min

KW

(NPSH)r

Kg

40-100

40

2.2
3.2
4.2

0.61
0.89
1.17

3.3
3
2.8

48

1400

0.12

2.5

17

40-125

40

2.2
3.2
4.2

0.61
0.89
1.17

5.5
5
4.5

40

1400

0.18

2.5

19

40-125A

40

2.0
2.8
3.7

0.56
0.78
1.03

4.4
4
3.6

39

1400

0.12

2.5

19

40-160

40

2.2
3.2
4.2

0.61
0.89
1.17

8.5
8
7.5

36

1400

0.25

2.5

24

40-160A

40

2.0
2.8
3.7

0.56
0.78
1.03

6.8
6.4
6

35

1400

0.18

2.5

22

40-200

40

2.2
3.2
4.2

0.61
0.89
1.17

13
12.5
12

31

1450

0.55

2.5

38

40-200A

40

2.0
2.8
3.7

0.56
0.78
1.03

10.4
10
9.6

30

1400

0.37

2.5

30

40-250

40

2.2
3.2
4.2

0.61
0.89
1.17

20.5
20
18.5

25

1450

1.1

2.5

52

40-250A

40

2.0
2.8
3.7

0.56
0.78
1.03

16.4
16
15

25

1450

0.75

2.5

47

40-250B

40

1.6
2.3
3.4

0.44
0.64
0.94

13.2
13
12

24

1450

0.55

2.5

46

型号

口径

流量

扬程

效率

转速

电机功率

必需汽蚀余量

重量

mm

m3/h

L/S

m

%

r/min

KW

(NPSH)r

Kg

40-100(I)

40

3.8
6.3
7.5

1.06
1.75
2.08

3.4
3
2.8

54

1400

0.12

2.5

17

40-125(I)

40

3.8
6.3
7.5

1.06
1.75
2.08

5.4
5.0
4.6

54

1400

0.25

2.5

29

40-125(I)A

40

3.4
5.6
6.7

0.94
1.56
1.86

4.3
4.0
3.7

52

1400

0.18

2.0

24

40-160(I)

40

3.8
6.3
7.5

1.06
1.75
2.08

8.5
8.0
7.5

47

1450

0.55

2.5

43

40-160(I)A

40

3.0
5.1
6.1

0.83
1.42
1.69

5.6
5.3
4.9

45

1400

0.25

2.5

30

40-200(I)

40

3.8
6.3
7.5

1.06
1.75
2.08

13.1
12.5
12

40

1450

0.75

2.5

45

40-200(I)A

40

3.3
5.5
6.5

0.92
1.53
1.81

10
9.5
9

39

1450

0.55

2.5

44

40-250(I)

40

3.8
6.3
7.5

1.06
1.75
2.08

20.5
20
19.5

32

1450

1.5

2.5

54

40-250(I)A

40

3.4
5.6
6.7

0.94
1.56
1.86

16.4
16
15.6

32

1450

1.1

2.5

49

40-250(I)B

40

3.1
5.1
6.1

0.86
1.42
1.69

13.2
13
12.5

30

1450

0.75

2.5

42

型号

口径

流量

扬程

效率

转速

电机功率

必需汽蚀余量

重量

mm

m3/h

L/S

m

%

r/min

KW

(NPSH)r

Kg

50-100

50

3.8
6.3
7.5

1.06
1.75
2.08

3.4
3
2.8

54

1400

0.12

2.5

19

50-125

50

3.8
6.3
7.5

1.06
1.75
2.08

5.4
5.0
4.6

54

1400

0.25

2.5

25

50-125A

50

3.4
5.6
6.7

0.94
1.56
1.86

4.3
4.0
3.7

52

1400

0.18

2.5

19

50-160

50

3.8
6.3
7.5

1.06
1.75
2.08

8.5
8.0
7.5

47

1450

0.55

2.5

42

50-160A

50

3.0
5.1
6.1

0.83
1.42
1.69

5.6
5.3
4.9

45

1400

0.25

2.5

37

50-200

50

3.8
6.3
7.5

1.06
1.75
2.08

13.1
12.5
12

40

1450

0.75

2.5

48

50-200A

50

3.3
5.5
6.5

0.92
1.53
1.81

10
9.5
9

39

1450

0.55

2.5

46

50-250

50

3.8
6.3
7.5

1.06
1.75
2.08

20.5
20
19.5

32

1450

1.5

2.5

58

50-250A

50

3.4
5.6
6.7

0.94
1.56
1.86

16.4
16
15.6

32

1450

1.1

2.5

50

50-250B

50

3.1
5.1
6.1

0.86
1.42
1.69

13.2
13
12.5

30

1450

0.75

2.5

49

型号

口径

流量

扬程

效率

转速

电机功率

必需汽蚀余量

重量

mm

m3/h

L/S

m

%

r/min

KW

(NPSH)r

Kg

50-100(I)

50

7.5
12.5
15

2.08
3.47
4.17

3.5
3
2.5

63

1400

0.25

2.5

23

50-125(I)

50

7.5
12.5
15

2.08
3.47
4.17

5.4
5.0
4.7

63

1400

0.37

2.5

34

50-125(I)A

50

6.6
11.0
13.2

1.83
3.06
3.67

4.1
3.8
3.6

60

1400

0.25

2.5

33

50-160(I)

50

7.5
12.5
15

2.08
3.47
4.17

8.8
8
7.2

59

1450

0.55

2.8

46

50-160(I)A

50

6.5
10.8
13.0

1.81
3.0
3.61

6.6
6
5.4

57

1400

0.37

2.8

34

50-200(I)

50

7.5
12.5
15

2.08
3.47
4.17

13.2
12.5
11.8

54

1450

1.1

2.8

52

50-200(I)A

50

6.8
11.3
13.5

1.89
3.14
3.75

10.7
10.1
9.6

53

1450

0.75

2.8

48

50-250(I)

50

7.5
12.5
15

2.08
3.47
4.17

21
20
19.4

45

1450

2.2

2.8

73

50-250(I)A

50

7.0
11.7
14.1

1.94
3.25
3.92

18.4
17.6
17

44

1450

1.5

2.8

65

50-250(I)B

50

6.1
10.2
12.3

1.69
2.83
3.42

14.1
13.4
13.0

43

1450

1.1

2.8

60

50-315(I)

50

7.5
12.5
15

2.08
3.47 4.17

32.3
32
31.7

36

1450

4

2.8

89

50-315(I)A

50

7
11.7
14

1.94
3.25
3.92

28.1
28
27.6

36

1450

3

2.8

84

50-315(I)B

50

6.1
10.2
12.1

1.69
2.81
3.36

21.2
21
20.8

34

1450

3

2.8

82

型号

口径

流量

扬程

效率

转速

电机功率

必需汽蚀余量

重量

mm

m3/h

L/S

m

%

r/min

KW

(NPSH)r

Kg

65-100

65

7.5
12.5
15

2.08
3.47
4.17

3.5
3
2.5

63

1400

0.25

2.8

29

65-125

65

7.5
12.5
15

2.08
3.47
4.17

5.4
5.0
4.7

63

1400

0.37

2.8

32

65-125A

65

6.6
11.0
13.2

1.83
3.06
3.67

4.1
3.8
3.6

60

1400

0.25

2.8

27

65-160

65

7.5
12.5
15

2.08
3.47
4.17

8.8
8
7.2

59

1450

0.55

2.8

46

65-160A

65

6.5
10.8
13.0

1.81
3.0
3.61

6.6
6
5.4

57

1400

0.37

2.8

35

65-200

65

7.5
12.5
15

2.08
3.47
3.75

13.2
12.5
11.8

54

1450

1.1

2.8

52

65-200A

65

6.8
11.3
13.5

1.89
3.14
3.75

10.7
10.1
9.6

53

1450

0.75

2.8

48

65-250

65

7.5
12.5
15

2.08
3.47
4.17

21
20
19.4

45

1450

2.2

2.8

76

65-250A

65

7.0
11.7
14.1

1.94
3.25
3.92

18.4
17.6
17

44

1450

1.5

2.8

68

65-250B

65

6.1
10.2
12.3

1.69
2.83
3.42

14.1
13.4
13.0

43

1450

1.1

2.8

63

65-315

65

7.5
12.5
15

2.08
3.47
4.17

32.3
32
31.7

36

1450

4

2.8

89

65-315A

65

7
11.7
14

1.94
3.25
3.92

28.1
28
27.6

36

1450

3

2.8

85

65-315B

65

6.1
10.1
12.1

1.69
2.81
3.36

21.2
21
20.8

34

1450

3

2.8

82

型号

口径

流量

扬程

效率

转速

电机功率

必需汽蚀余量

重量

mm

m3/h

L/S

m

%

r/min

KW

(NPSH)r

Kg

65-100(I)

65

15
25
30

4.17
6.94
8.33

3.5
3
2.5

70

1400

0.37

2.8

83

65-125(I)

65

15
25
30

4.17
6.94
8.33

5.6
5
4.5

70

1450

0.75

2.8

49

65-125(I)A

65

13.1
21.8
26.1

3.05
6.05
7.25

4.3
3.8
3.4

65

1450

0.55

2.8

48

65-160(I)

65

15
25
30

4.17
6.94
8.33

9
8
7.2

68

1450

1.1

2.8

54

65-160(I)A

65

13.0
21.6
25.9

3.61
6.0
7.19

6.7
6.0
5.4

65

1450

0.75

2.8

48

65-200(I)

65

15
25
30

4.17
6.94
8.33

13.2
12.5
11.8

64

1450

2.2

2.8

71

65-200(I)A

65

14.0
23.3
27.9

3.89
6.47
7.75

11.5
10.9
10.2

63

1450

1.5

2.8

62

65-250(I)

65

15
25
30

4.17
6.94
8.33

21
20
18.8

59

1450

3

2.8

85

65-250(I)A

65

13.3
22.2
26.6

3.69
6.17
7.39

16.6
15.8
14.8

58

1450

2.2

2.8

80

65-250(I)B

65

11.9
19.8
23.8

3.31
5.5
6.61

13.2
12.6
11.8

57

1450

1.5

2.8

74

65-315(I)

65

15
25
30

4.17
6.94
8.33

32.5
32
31.5

50

1450

5.5

2.8

120

65-315(I)A

65

14
23
28

3.89
6.39
7.78

28.3
27.9
27.4

50

1450

4

2.8

110

65-315(I)B

65

12.1
20.2
24.2

3.36
5.61
6.75

21.3
21
30.6

49

1450

3

2.8

100

型号

口径

流量

扬程

效率

转速

电机功率

必需汽蚀余量

重量

mm

m3/h

L/S

m

%

r/min

KW

(NPSH)r

Kg

80-100

80

15
25
30

4.17
6.94
8.33

3.5
3
2.5

70

1400

0.37

2.8

33

80-125

80

15
25
30

4.17
6.94
8.33

5.6
5
4.5

70

1450

0.75

2.8

48

80-125A

80

13.1
21.8
26.1

3.05
6.05
7.25

4.3
3.8
3.4

65

1450

0.55

2.8

45

80-160

80

15
25
30

4.17
6.94
8.33

9
8
7.2

68

1450

1.1

2.8

55

80-160A

80

13.0
21.6
25.9

3.61
6.0
7.19

6.7
6.0
5.4

65

1450

0.75

2.8

51

80-200

80

15
25
30

4.17
6.94
8.33

13.2
12.5
11.8

64

1450

2.2

2.8

72

80-200A

80

14.0
23.3
27.9

3.89
6.47
7.75

11.5
10.9
10.2

63

1450

1.5

2.8

64

80-250

80

15
25
30

4.17
6.94
8.33

21
20
18.8

59

1450

3

2.8

89

80-250A

80

13.3
22.2
26.6

3.69
6.17
7.39

16.6
15.8
14.8

58

1450

2.2

2.8

85

80-250B

80

11.9
19.8
23.8

3.31
5.5
6.61

13.2
12.6
11.8

57

1450

1.5

2.8

78

80-315

80

15
25
30

4.17
6.94
8.33

32.5
32
31.5

50

1450

5.5

2.8

130

80-315A

80

14
23
28

3.89
6.39
7.78

28.3
27.9
27.4

50

1450

4.0

2.8

102

80-315B

80

12.1
20.2
24.3

3.36
5.61
6.75

21.3
21
20.6

49

1450

3

2.8

95

型号

口径

流量

扬程

效率

转速

电机功率

必需汽蚀余量

重量

mm

m3/h

L/S

m

%

r/min

KW

(NPSH)r

Kg

80-100(I)

80

30
50
60

8.33
13.89
16.67

3.5
3
2.5

73

1450

0.75

3.0

58

80-125(I)

80

30
50
60

8.33
13.89
16.67

6
5
4

73

1450

1.1

3.0

61

80-125(I)A

80

26.8
44.6
53.5

7.44
12.4
14.9

4.8
4
3.2

63

1450

2.2

3.0

61

80-160(I)

80

30
50
60

8.33
13.89
16.67

9.2
8
6.8

73

1450

2.2

3.0

82

80-160(I)A

80

26.7
44.5
53.4

7.42
12.36
14.83

7.3
6.3
5.4

71

1450

1.5

3.0

74

80-200(I)

80

30
50
60

8.33
13.89
16.67

13.5
12.5
11.8

72

1450

3.0

3.0

97

80-200(I)A

80

26.7
44.6
53.5

7.42
12.36
14.83

10.7
9.9
9.4

71

1450

2.2

3.0

93

80-250(I)

80

30
50
60

8.33
13.89
16.67

21.3
20
19

66

1450

5.5

3.0

134

80-250(I)A

80

28
46.7
56

7.78
12.97
15.56

18.6
17.4
16.6

65

1450

4.0

3.0

106

80-250(I)B

80

24.2
40.4
48.5

6.72
11.22
13.47

13.9
13.1
12.4

63

1450

3.0

3.0

100

80-315(I)

80

30
50
60

8.33
13.89
16.67

34
32
30

61

1450

11.0

3.0

217

80-315(I)A

80

28
46.7
56

7.78
12.97
15.56

29.6
27.9
26.1

61

1450

7.5

3.0

180

80-315(I)B

80

24.3
40.5
48.6

6.72
11.22
13.47

22.3
21
19.1

60

1450

5.5

3.0

166

型号

口径

流量

扬程

效率

转速

电机功率

必需汽蚀余量

重量

mm

m3/h

L/S

m

%

r/min

KW

(NPSH)r

Kg

100-100

100

30
50
60

8.33
13.89
16.67

3.5
3
2.5

73

1450

0.75

3.0

62

100-125

100

30
50
60

8.33
13.89
16.67

6
5
4

73

1450

1.1

3.0

70

100-125A

100

26.8
44.6
53.5

7.44
12.4
14.9

4.8
4
3.2

63

1450

1.1

3.0

68

100-160

100

30
50
60

8.33
13.89
16.67

9.2
8
6.8

73

1450

2.2

3.0

87

100-160A

100

26.7
44.5
53.4

7.42
12.36
14.83

7.3
6.3
5.4

71

1450

1.5

3.0

79

100-200

100

30
50
60

8.33
13.89
16.67

13.5
12.5
11.8

72

1450

3.0

3.0

100

100-200A

100

26.7
44.6
53.5

7.42
12.36
14.83

10.7
9.9
9.4

71

1450

2.2

3.0

90

100-250

100

30
50
60

8.33
13.89
16.67

21.3
20
19

66

1450

5.5

3.0

140

100-250A

100

28
46.7
56

7.78
12.97
15.56

18.6
17.6
16.6

65

1450

4.0

3.0

112

100-250B

100

24.2
40.4
48.5

6.72
11.22
13.47

13.9
13.1
12.4

63

1450

3.0

3.0

105

100-315

100

30
50
60

8.33
13.89
16.67

34
32
30

61

1450

11.0

3.0

225

100-315A

100

28
46.7
56

7.78
12.97
15.56

29.6
27.9
26.1

61

1450

7.5

3.0

180

100-315B

100

24.3
40.5
48.6

6.72
11.22
13.47

22.3
21
19.1

60

1450

5.5

3.0

165

型号

口径

流量

扬程

效率

转速

电机功率

必需汽蚀余量

重量

mm

m3/h

L/S

m

%

r/min

KW

(NPSH)r

Kg

100-125(I)

100

60
100
120

16.67
27.78
33.33

6.5
5
4

78

1450

2.2

3.0

95

100-125(I)A

100

52.2
87.1
104

14.5
24.2
28.9

4.3
3.8
3.4

76

1450

1.5

3.0

87

100-160(I)

100

60
100
120

16.7
27.78
33.33

10
8
7

78

1450

4.0

3.0

118

100-160(I)A

100

52.2
87.1
104

14.5
24.2
28.9

7.3
6.3
5.4

76

1450

3.0

3.0

113

100-200(I)

100

60
100
120

16.67
27.78
33.33

14.0
12.5
11

75

1450

5.5

3.0

148

100-200(I)A

100

51.7
86.1
103

14.36
23.92
28.61

10.8
9.3
8.2

73

1450

4.0

3.0

123

100-250(I)

100

60
100
120

16.67
22.78
33.33

21.5
20
18.5

74

1450

11.0

3.0

208

100-250(I)A

100

56
93.3
112

15.56
25.92
31.11

18.7
17.4
16.1

73

1450

7.5

3.0

165

100-250(I)B

100

52.2
87
104

14.5
24.17
28.89

16
15
14

72

1450

5.5

3.0

149

100-315(I)

100

60
100
120

16.67
22.78
33.33

33.5
32
30.5

71

1450

15.0

3.0

234

100-315(I)A

100

55.0
91.0
110.0

15.28
25.28
30.56

28
27
25.7

71

1450

11.0

3.0

213

100-315(I)B

100

47
79.0
95

13.06
21.94
26.39

21
20
19

70

1450

7.5

3.0

165

100-400(I)

100

60
100
120

16.67
22.78
33.33

52
50
48.5

65

1450

30.0

3.0

375

100-400(I)A

100

56.4
94
113

15.67
26.11
31.39

46
44
43

65

1450

22.0

3.0

295

100-400(I)B

100

52.3
87
105

14.53
24.17
29.17

39
38
37

64

1450

18.5

3.0

257

100-400(I)C

100

48.6
81
97

13.54
22.56
26.94

34
32.8
32

62

1450

15.0

3.0

239

型号

口径

流量

扬程

效率

转速

电机功率

必需汽蚀余量

重量

mm

m3/h

L/S

m

%

r/min

KW

(NPSH)r

Kg

125-125

125

48
80
96

13.3
22.2
26.7

5.5
5
4.3

76

1450

2.2

3.0

148

125-125A

125

43
71.5
66

11.6
19.9
13.9

4.4
4
3.4

75

1450

1.5

3.0

125

125-160

125

48
80
96

13.3
22.2
26.7

9
8
7

74

1450

3.0

3.0

205

125-160A

125

42
69.3
83

11.9
19.3
23

6.8
6
5.3

73

1450

2.2

3.0

165

125-200

125

48
80
96

13.3
23.2
26.7

13.8
12.5
11.5

73

1450

5.5

3.0

249

125-200A

125

45
75
90

12.5
20.8
25

12
11
10

72

1450

4.0

3.0

237

125-250

125

48
80
96

13.3
22.2
26.7

22
20
18.3

72

1450

7.5

2.8

220

125-250A

125

45
75
90

12.5
20.8
25

19
17.5
16

71

1450

7.5

2.8

210

125-250B

125

41.5
69
83

11.5
11.2
23

16.3
15
13.8

70

1450

5.5

2.8

195

125-315

125

48
80
96

13.3
22.2
26.7

33.3
32
29.8

67

1450

15.0

2.5

300

125-315A

125

45
75
90

12.5
20.8
25

29.3
27.5
26

66

1450

11.0

2.5

282

125-315B

125

43
72
96

11.9
20
23.9

26.5
25
23.8

65

1450

11.0

2.5

282

型号

口径

流量

扬程

效率

转速

电机功率

必需汽蚀余量

重量

mm

m3/h

L/S

m

%

r/min

KW

(NPSH)r

Kg

150-200

150

96
160
192

26.7
44.4
53.3

13.8
12.5
11.5

77

1450

11

5.5

305

150-200A

150

90
150
180

25
41.7
50

12
11
10

76

1450

7.5

5.5

276

150-250

150

96
160
192

26.7
44.4
53.3

22
20
18.3

75

1450

15

5.0

310

150-250A

150

90
150
180

25
41.7
50

19
17.5
16

74

1450

11

5.5

303

150-250B

150

84
140
168

23.3
39
46.7

16.3
15
13.8

73

1450

7.5

5.5

281

150-315

150

96
160
192

26.7
44.4
53.3

33.3
32
29.8

70
78
73

1450

30

2.5

410

150-315A

150

90
150
180

25
41.7
50

29.3
27.5
26

69
77
77

1450

22

3.5

335

150-315B

150

84
140
168

23.3
39
46.7

25
24
21

76

1450

18.5

3.5

315

150-400

150

96
160
192

26.7
44.4
53.3

53
50
44

68
75
71

1450

45

3.5

490

150-400A

150

90
150
180

25
41.7
50

46.6
44
38.3

67
74
70

1450

37

3.5

454

150-400B

150

84
140
168

23.3
39
46.7

40
38
33

73

1450

30

3.5

435

型号

口径

流量

扬程

效率

转速

电机功率

必需汽蚀余量

重量

mm

m3/h

L/S

m

%

r/min

KW

(NPSH)r

Kg

150-200(I)

150

120
200
240

33.3
55.6
66.7

13.8
12.5
11.5

65
76
74

1450

15

4.5

310

150-200(I)A

150

112
187
224

31.1
51.9
62.2

12
11
10

64
75
73

1450

11

4.5

303

150-250(I)

150

140
200
260

38.9
55.6
72.2

22
20
18.3

75

1450

18.5

5.0

340

150-250(I)A

150

131
187
243

36.4
51.9
67.5

19
17.5
16

74

1450

15

5.5

325

150-250(I)B

150

121
173
225

33.5
48.1
62.5

16.3
15
13.8

73

1450

11

5.5

300

150-315(I)

150

140
200
260

38.9
55.6
72.2

33.3
32
29.8

70
78
73

1450

30

2.5

410

150-315(I)A

150

131
187
243

36.4
51.9
67.5

29.3
27.5
26

69
77
77

1450

22

3.5

335

150-315(I)B

150

121
173
225

33.5
48.1
62.5

25
24
21

76

1450

18.5

3.5

315

150-400(I)

150

140
200
260

38.9
55.6
72.2

53
50
44

68
75
71

1450

45

3.5

490

150-400(I)A

150

131
187
243

36.4
51.9
67.5

46.6
44
38.3

67
74
70

1450

37

3.5

454

150-400(I)B

150

121
173
225

33.5
48.1
62.5

40
38
33

73

1450

30

3.5

435

150-500(I)

150

140
200
260

38.9
55.6
72.2

87
80
73

73

1450

90

3.5

1215

150-500(I)A

150

131
187
243

36.4
51.9
67.5

76
70
84

73

1450

75

3.5

1108

150-500(I)B

150

121
173
225

33.5
48.1
62.5

65
60
55

73

1450

55

3.5

920

型号

口径

流量

扬程

效率

转速

电机功率

必需汽蚀余量

重量

mm

m3/h

L/S

m

%

r/min

KW

(NPSH)r

Kg

200-200

200

140
200
260

38.9
55.6
72.2

13.8
12.5
10.6

68
78
78

1450

15

3.0

265

200-200A

200

125
179
232.5

34.7
49.7
64.6

11
10
8.5

66
76
76

1450

11

3.0

244

200-250

200

140
200
260

21.8
20
17

21.8
20
17

73
79
77

1450

18.5

3.0

305

200-250A

200

129
184.4
240

18.5
17
14.4

18.5
17
14.4

72
78
76

1450

15

3.0

267

200-250B

200

117
167
217.5

15.2
14
12

15.2
14
12

76

1450

11

3.0

246

200-315

200

140
200
260

33.8
32
28

33.8
32
28

70
78
78

1450

30

3.5

417

200-315A

200

131
189
243

29.5
28
24.5

29.5
28
24.5

69
77
77

1450

22

3.5

342

200-315B

200

121
173
225

25
24
21

25
24
21

76

1450

18.5

3.5

322

200-400

200

140
200
260

53
50
44

53
50
44

68
75
71

1450

45

3.5

498

200-400A

200

131
187
243

46.6
44
38.3

46.6
44
38.3

67
74
70

1450

37

3.5

462

200-400B

200

122
174
226.5

40
38
33

40
38
33

73

1450

30

3.5

443

200-400C

200

112
160
208

34
32
28

34
32
28

71

1450

22

3.5

373

200-500

200

140
200
260

38.9
55.6
72.2

87
80
73

73

1450

90

3.5

1215

200-500A

200

131
187
243

36.4
51.9
67.5

76
70
84

73

1450

75

3.5

1108

200-500B

200

121
173
225

33.5
48.1
62.5

65
60
55

73

1450

55

3.5

920

型号

口径

流量

扬程

效率

转速

电机功率

必需汽蚀余量

重量

mm

m3/h

L/S

m

%

r/min

KW

(NPSH)r

Kg

200-200(I)

200

280
400
520

77.8
111.1
144

13.4
12.5
10.5

70
80
79

1450

22

4.0

382

200-200(I)A

200

250
358
465

69.4
90.4
129.2

10.7
10
8.5

68
73
77

1450

18.5

4.0

346

200-250(I)

200

280
400
520

77.8
111.1
144

22.2
20
14

75
80
72

1450

30

4.0

475

200-250(I)A

200

250
358
465

69.4
99.4
129.2

18
16
11.2

73
78
70

1450

22

4.0

405

200-250(I)B

200

226
322
419

62.8
89.4
116.4

14.4
13
7.3

70
75
67

1450

18.5

4.0

387

200-315(I)

200

280
400
520

77.8
111.4
144

36
32
26

73
80
75

1450

55

4.0

675

200-315(I)A

200

262
374
486

72.8
103.9
135

31.5
28
23

72
79
74

1450

45

4.0

560

200-315(I)B

200

242
346
450

67.3
96.1
125

27
24
19.5

78

1450

37

4.0

535

200-400(I)

200

280
400
520

77.8
111.4
144

54.5
50
39

75
81
77

1450

75

4.0

830

200-400(I)A

200

262
374
486

72.8
103.9
135

48
44
34

80

1450

75

4.0

830

200-400(I)B

200

242
346
450

67.2
96.1
125

41.4
38
29.6

78

1450

55

5.0

685

200-400(I)C

200

224
320
416

62.2
88.9
115.6

34.9
32
25

76

1450

45

5.0

580

200-500(I)

200

280
400
520

77.8
111.4
144

87
80
73

73

1450

132

3.5

1300

200-500(I)A

200

262
374
486

72.8
103.9
135

76
70
84

73

1450

110

3.5

1150

200-500(I)B

200

242
346
450

67.2
96.1
125

65
60
55

73

1450

90

3.5

1050

200-500(I)C

200

224
320
416

62.2
88.9
115.6

55
50
46

73

1450

75

3.5

930

型号

口径

流量

扬程

效率

转速

电机功率

必需汽蚀余量

重量

mm

m3/h

L/S

m

%

r/min

KW

(NPSH)r

Kg

250-250

250

350
550
650

97.2
152.8
180.5

22
20
16

78
82
81

1450

45

5.0

620

250-250A

250

300
500
600

83.3
139
166.7

18.3
17
14

76
80
80

1450

37

5.0

550

250-235

250

300
500
600

83.3
139
166.7

14
12.5
11

73
78
70

1480

22

4.5

410

250-300

250

300
500
600

83.3
139
166.7

22
20
16

78

1480

37

4.5

550

250-315

250

350
550
650

97.2
152.8
180.5

34
32
28

76
80
79

1450

75

5.5

890

250-315A

250

300
500
600

83.3
139
166.7

29.5
28
24

74
78
77

1450

55

5.5

690

250-315B

250

260
450
520

72.2
125
144.4

25
24
20

70
74
72

1450

45

5.5

620

250-400

250

300
500
600

83.3
139
166.7

54.5
50
39

72

1480

90

4.5

1530

型号

口径

流量

扬程

效率

转速

电机功率

必需汽蚀余量

重量

mm

m3/h

L/S

m

%

r/min

KW

(NPSH)r

Kg

300-235

300

480
720
900

133.3
200
250

20
18
15.5

77
81
74

970

55

5.0

1120

300-235A

300

438
607
821

121.7
182.5
228.1

16.5
15
13

75
79
72

970

45

5.0

1030

300-235B

300

400
600
750

111.1
167.0
208.3

14
12.5
11

73
77
70

970

37

5.0

890

300-300

300

480
720
900

133.3
200
250

31
28
25

77
81
77

970

75

5.0

1350

300-300A

300

444
666
833

123.3
185
231.4

26.5
24
21.5

76
80
76

970

75

5.0

1350

300-300B

300

415
623
779

115.3
173.1
261.4

23
21
18.5

79

970

55

5.0

1170

300-380

300

480
720
900

133.3
200
250

48
44
34

84

970

132

5.0

1900

300-380A

300

444
666
833

123.3
185
231.4

41.4
38
30

80

970

110

5.0

1700

300-380B

300

409
614
767

113.6
170.6
213.1

35
32
25

78

970

90

5.0

1530

300-235(I)

300

718
1080
1345

199.4
300
373.6

44.6
40
34.6

82

1450

160

5.5

1680

300-235(I)A

300

642
965
1203

178.3
268.1
334.2

35.7
32
27.7

80

1450

132

5.5

1400

型号

口径

流量

扬程

效率

转速

电机功率

必需汽蚀余量

重量

mm

m3/h

L/S

m

%

r/min

KW

(NPSH)r

Kg

 

附件安装方法
一、硬性联接

1、直接安装1进口阀门2直管3弯管4直管5进管6弯管7直管8出口阀门
2、联接板安装1进口阀门2直管3弯管4直管5联接板6直管7弯管8直管9出口阀门

二、柔性联接

1、联接板,加隔振器安装1进口阀门2挠性接头3弯管4直管5联接板6隔振器7直管8弯管9挠性接头10出口阀门
2、联接板,加隔振器安装1进口阀门2挠性接头3直管4联接板5隔振器6直管7出口阀门

 

易损件(机械密封及轴承)

电机功率

轴承

机械密封

0.18KW、0.12KW

201

104-12

0.25KW、0.37KW

202

104-14

0.55KW、0.75KW、1.1KW-2

204

109-18

1.1KW-4、 1.5KW、2.2KW-2

205

109-20

2.2KW-4、3KW

206

109-25

4KW

306

109-25

5.5KW、7.5KW-2、7.5KW-4

308

109-25

11KW、15KW、 18.5KW-2、22KW-2

309

109-35

18.5KW-4、22KW-4

311

109-45

30KW、37KW-2

312

109-45

37KW-4、45KW

313

109-45

55KW、75KW-2、90KW-2

314

109-55

 

管路损耗参考表

管径mm

流量(L/S)

1

2

4

6

8

10


25

3.2

13





38

3.5

14

15




15

20


50

0.8

3.1

13

29





25

30


65


0.8

3.2

7.1

13

20





40

50


75


0.4

1.6

3.3

5.9

9.6

21.6






60

70


100



0.4

0.8

1.3

2.1

6.8

8.6

13

19.





80

90


125




0.2

0.4

0.6

1.3

2.7

4.1

5.9

10.






100

110


150





0.1

0.2

0.5

1.1

1.6

2.3

4.2

6.4

9.4






120

130


175






0.1

0.2

0.5

0.7

1.0

1.9

2.9

4.3

5.8

7.7

9.6





140

160


200







0.1

0.2

0.3

0.5

0.9

1.5

2.1

2.9

3.7

4.7

6.1

7.2

8.5




180

200

250








0.1

0.1

0.2

0.3

0.5

0.7

0.9

1.2

1.5

1.9

2.3

2.8

3.3

3.7

4.9

5.2


300










0.1

0.1

0.2

0.3

0.4

0.5

0.6

0.7

0.9

1.1

1.3

1.5

2.0

2.4

3.0

阀及弯管折合直管长度

种类

折合直管直径倍数

备注

全开闸阀

12

未畅开加倍

标准弯管

25


逆止阀

100


底阀

100

部分堵塞加倍

一定管路直么之流量限制

管路直径流量流速mmL/Sm/s2512.04382.51.69504.172.12656.672.017510.02.2610018.42.33
管路直径流量流速mmL/Sm/s12530.02.4415043.02.4517560.02.4920083.32.69250133.32.72300192.02.71

 

故障原因及排除方法

故障现象

可能产生的原因

排除方法

1、水泵不出水

 a、进出口阀门未打开,进出管路阻塞,流道叶轮阻塞。
 b、电机运行方向不对,电机缺相转速很慢。
 c、吸入管漏气。
 d、泵没灌满液体,泵腔内有空气。
 e、进口供水不足,吸程过高,底阀漏水。
 f、管路阻力过大,泵选型不当。

 a、检查,去除阻塞物
 b、调整电机方向,坚固电机接线
 c、拧紧各密封面,排除空气
 d、打开泵上盖或打开排气阀排尽空气
 e、停机检查、调整(并网自来水管和带吸程使用易出现此现象
 f、减少管路弯道,重新选泵。

2、水泵流量不足

 a、先按1.原因检查。
 b、管道、泵流产叶轮部分阻塞、水垢沉积、阀门开度不足
 c、电压偏低
 d、叶轮磨损

 a、先按1.排除
 b、去除阻塞物重新调整阀门开度。
 c、稳压。
 d、更换叶轮。

 

3、功率过大

 a、超过额定流量使用。
 b、吸程过高。
 c、泵轴承磨损。

 a、调节流量关小出口阀门。
 b、降低
 c、更换叶轮

 

4、杂音振动

 a、管路支撑不稳。
 b、液体混有气体。
 c、产生汽蚀。
 d、轴承损坏。
 e、 电机超载发热运行。

 a、稳固管路
 b、提高吸入压力、排气
 c、降低真空度
 d、更换轴承
 e、搞整按5。

5、电机发热

 a、流量过大、超载运行。
 b、碰擦。
 c、电机轴承损坏。
 d、电压不足。

 a、关小出口阀。
 b、检查排除。
 c、更换轴承。
 d、稳压。

6、水泵漏水

 a、机械密封磨损。
 b、水泵体有砂孔或破裂。
 c、密封面不平整。
 d、安装螺栓松懈。

 a、更换。
 b、焊补或更换。
 c、修整。
 d、坚固。

清水泵其它系列产品

  • TD立式管道循环清水泵

  • QHYB-ISG生活变频供水设备

  • QHYB-LG生活自动变频供水设备

  • QHYB-GDL生活成套变频供水设备

  • QHYB-DL生活变频恒压给水设备

  • QHYB-CDL生活变频恒压给水设备

  • G型立式屏蔽管道清水泵

  • QDX不锈钢潜水清水泵

  • CHDF不锈钢节段式卧式多级清水泵

  • ZXL卧式直联自吸离心清水泵

  • SOW型蜗壳式双吸管道清水泵

  • S型卧式单级双吸中开离心清水泵

  • IS卧式单级单吸清水泵

  • ZX自吸离心清水泵

  • CHL不锈钢卧式多级清水泵

  • D/DG型卧式多级清水泵

  • GC型卧式给水多级清水泵

  • D型卧式单吸多级离心清水泵

  • LG立式便拆高层建筑给水多级清水泵

  • GDL立式多级管道清水泵

  • CDL不锈钢立式多级清水泵

  • DL立式多级低转速清水泵

  • PBG立式屏蔽清水泵

  • ISW卧式单级管道清水泵

  • ISWD卧式单级低转速管道清水泵

  • ISGD立式单级单吸低转速增压管道清水泵

  • TSWA卧式低转速多级清水泵

  • SPG立式管道屏蔽式清水泵

  • ISGB立式便拆管道清水泵

  • ISG立式单级单吸增压管道清水泵



联系我们

输入手机号我们将及时与您取得联系

点击立刻咨询

提交成功!

上海海洋泵阀制造有限公司提示您:

请输入正确的手机号码!
确定
关闭
获取产品图册资料

通过手机号验证后将自动下载

手机号码格式不正确,请重新输入
获取验证码

短信验证码已发送,可能会有延后请耐心等待

关闭
高级工程师
专业为您选型报价

输入手机号我们将及时与您取得联系

提交成功!

上海海洋泵阀制造有限公司提示您:

请输入正确的手机号码!
确定
工程师一对一服务

点击立刻咨询