WL/LW无堵塞直立式排污泵
WL/LW无堵塞直立式排污泵
WL/LW无堵塞直立式排污泵

产品型号:

产品介绍

型号意义
WL/LW无堵塞直立式排污泵型号意义

 

 

产品简介
WL/LW无堵塞直立式排污泵是结合水泵的使用特点而研制成功的新一代泵类产品,具防缠绕、无堵塞、自动安装和自动控制等特点。在排送固体颗粒和长纤维垃圾方面,具有效果。
WL/LW无堵塞直立式排污泵采用独特叶轮结构和新型机械密封,能有效地输送含有固体物和长纤维。
叶轮与传统叶轮相比,该泵叶轮采用单流道或双流道形式,它类似于一截面大小相同的弯管,具有非常好的过流性,配以合理的蜗室,使得该泵具有效率高、叶轮经动静平衡试验,使泵在运行中无振动。
WL/LW无堵塞直立式排污泵水力性能先进、成熟,产品经测试各项性能指标均达到有关标准规定,产品投放市场后以其功效,可靠的性能,稳定的质量受到广大用户的欢迎和好评。

 

 

 

产品特点
1、采用双叶片叶轮结构,大大提高了污物的通过能力
2、机械密封采用新型磨檫副,并长期处入油室内运行;
3、整体结构紧凑、体积小、燥声小、检修方便,方便用户更换;
4、自动控制柜可以根据所需液化变化,自动控制泵的超动与停止,不需专人看管,使用极为方便;
5、可根据用户需要配备安装方式,它给安装、维修到来极大的方便,人可不必此为而进入污水坑;
6、能够在设计范围内使用,而保证电机不会过载;
7、该泵配上户外性电机,则无须建泵房,可直接安装与户外使用节省开支;

 

 

 

产品用途
WL/LW无堵塞直立式排污泵适用用于工厂商业严重污染废水的排放、主宅区的污水排污站、城市污水处理厂派水系统、人防系统排水站、自来水厂的给水设备、医院、宾馆的污水排放、市政工程建筑工地、矿山配套附机、农村沼气池、农田灌溉等行业,输送带颗粒的污水,污物,也可用于清水及带弱腐蚀性介质。

 

 

 

工作条件
1、排污泵系列产品在额定电压为380V,电源频率为50Hz时适用
2、介质温度不超过40摄氏度,介质密度≤1150kg/m3,PH值在5-9范围之间;
3、海拔高度不超过1000米;
4、输送介质年粘度不超1000CP;
5、产品材质主要为铸铁,不能用于强腐蚀性或含有强腐蚀性的介质中;
注意:在选型或安装使用前务使泵实际使用条件符合以上条款,确保产品的正确使用!

 

 

 

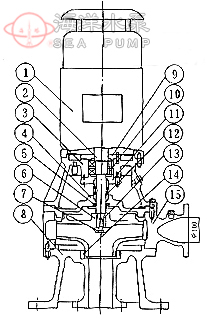
结构示意图

WL/LW无堵塞直立式排污泵结构简图

序号

名称

序号

名称

1

电机

9

轴承压盖

2

加长轴

10

轴承

3

轴承座

11

机械密封座

4

泵盖

12

机械密封

5

油封

13

6

叶轮

14

泵体耐磨环

7

叶轮螺母

15

泵体

8

底座




 

 

 

性能参数

型号

口径

流量

扬程

转速

功率

效率

mm

(m3/h)

(M)

(r/min)

(kw)

(%)

25-7-8-0.55

25

7

8

2900

0.55

45

25-8-22-1.1

25

8

22

2900

1.1

45

32-8-12-0.75

32

8

12

2900

0.75

48

32-12-15-1.1

32

12

15

2900

1.1

 45

40-15-15-1.5

40

15

15

2900

1.5

48

40-15-30-2.2

40

15

30

2900

2.2

54

50-20-7-0.75

50

20

7

2900

0.75

51

50-10-10-0.75

50

10

10

2900

0.75

52

50-20-15-1.5

50

20

15

290

1.5

53

50-15-25-2.2

50

15

25

2900

2.2

54

50-18-30-3

50

18

30

2900

3

55

50-40-15-4

50

40

15

2900

4

55

50-25-32-5.5

50

25

32

2900

5.5

55

50-20-40-7.5

50

50

20

2900

7.5

58

65-25-15-2.2

65

25

15

2900

2.2

50

65-37-13-3

65

37

13

2900

3

57

65-25-30-4

65

25

30

2900

4

61

65-30-40-7.5

65

30

40

2900

7.5

56

65-35-50-11

65

35

50

2900

11

45

65-35-60-15

65

35

60

2900

15

65

80-40-7-2.2

80

40

7

1450

2.2

59

80-43-13-3

80

43

13

2900

3

70

80-40-15-4

80

40

15

2900

4

61

80-60-13-5.5

80

60

13

2900

5.5

67

80-65-25-7.5

80

65

25

2900

7.5

63

型号

口径

流量

扬程

转速

功率

效率

mm

(m3/h)

(M)

(r/min)

(kw)

(%)

100-80-10-4

100

100

10

1450

4

65

100-100-15-7.5

100

100

15

1450

7.5

68

100-80-20-7.5

100

80

20

1450

7.5

65

100-100-25-11

100

100

25

1450

11

70

100-100-30-15

100

100

30

1450

15

65

100-100-35-18.5

100

100

35

1450

18.5

68

125-130-15-11

125

130

15

1450

11

72

125-130-20-15

125

130

20

1450

15

75

150-145-9-7.5

150

145

9

1450

7.5

76

150-180-15-15

150

180

15

1450

15

69

150-180-20-18.5

150

180

20

1450

18.5

72

150-180-25-22

150

180

25

1450

22

78

150-130-30-22

150

130

30

1450

22

78

150-180-30-30

150

180

30

1450

30

78

150-200-30-37

150

200

30

1450

37

73

200-300-7-11

200

300

7

980

11

66

200-250-11-15

200

250

11

1450

15

64

200-250-15-18.5

200

250

15

1450

18.5

73

200-400-10-22

200

400

10

1450

22

75

200-400-13-30

200

400

13

14501

30

76

200-300-15-22

200

300

15

1450

22

76

200-250-22-30

200

250

22

1450

30

71

200-350-25-37

200

350

25

1450

37

71

200-400-30-45

200

400

30

1450

45

74

型号

口径

流量

扬程

转速

功率

效率

mm

(m3/h)

(M)

(r/min)

(kw)

(%)

250-600-9-30

250

600

9

980

30

78

250-600-12-37

250

600

12

1450

37

76

250-600-15-45

250

600

15

1450

45

73

250-600-20-55

250

600

20

1450

55

73

250-600-25-75

250

600

25

1450

75

71

300-800-12-45

300

800

12

980

45

74

300-480-15-45

300

480

15

1450

45

66

300-800-15-55

300

800

15

1450

55

73

300-600-20-55

300

600

20

1450

55

73

300-800-20-75

300

800

20

1450

75

75

300-950-20-90

300

950

20

1450

90

76

300-1000-25-110

300

1000

25

1450

110

76

300-1100-10-55

300

1100

10

1450

55

73

350-1500-15-90

350

1500

15

740

90

87

350-1200-18-90

350

1200

18

980

90

85

350-1100-28-132

350

1100

28

980

132

84

350-1000-36-160

350

1000

36

980

160

84

400-1760-7.5-55

400

1760

7.5

980

55

83

400-1500-10-75

400

1500

10

980

75

86

400-2000-13-110

400

2000

13

980

110

84

400-2000-15-132

400

2000

15

980

132

83

400-1700-22-160

400

1700

22

980

160

83

400-1500-26-160

400

1500

26

980

160

84

型号

口径

流量

扬程

转速

功率

效率

mm

(m3/h)

(M)

(r/min)

(kw)

(%)

400-1800-32-250

400

1800

32

980

250

82

500-2500-10-110

500

2500

10

740

110

85

500-2600-15-160

500

2600

15

740

160

84

500-2400-22-220

500

2400

22

740

220

85

500-2650-24-250

500

2650

24

740

250

85

 

 

 

故障分析及其排除方法

故障现象

可能产生的原因

排除方法

流量不足或不出水

1、叶轮反转2、流道堵塞3、电机转速不够4、被抽送介质浓度过大5、扬程过高

1、调整叶轮旋转方向2、清除杂物3、检查电源电压及频率4、用水冲稀降低浓度5、改泵或降低扬程

不能启动

1、缺相2、叶轮卡住3、绕组、接头或电缆断路4、定子绕组烧坏5、电器控制故障

1、检查线路,进行修复2、清除杂物3、用欧姆表检查修复4、进行修理,更换线组5、检查控制器,修理或调换

定子烧坏

1、二相运行2、被抽介质浓度过大3、叶轮卡死或松动4、密封件损坏电机进水5、紧固件松动造成电机进水

1、查清线路,消除故障2、用水稀释3、清除脏物,拧紧螺母4、更换机械密封5、拧紧各部螺栓

电流过大

1、工作电压低2、管道、叶轮被堵3、抽送液体的密度较大或粘度较高

1、调整工作电压2、清理管道和叶轮堵塞物3、改变抽送液体的密度或粘度

排污泵其它系列产品

  • QDX潜水排污泵

  • XWJ卧式无堵塞纸浆泵

  • WQK/QG无堵塞切割绞刀式潜水排污泵

  • JYWQ系列自动搅匀排污泵

  • ZWL型直联式无堵塞自吸排污泵

  • ZW型无堵塞自吸式排污泵

  • YW无堵塞液下式排污泵

  • QW/WQ无堵塞潜水排污泵

  • PW卧式悬臂离心排污泵

  • NL立式泥浆排污泵

  • WL/LW无堵塞直立式排污泵

  • GW无堵塞管道式排污泵

  • AS切割撕裂式潜水排污泵



联系我们

输入手机号我们将及时与您取得联系

点击立刻咨询

提交成功!

上海海洋泵阀制造有限公司提示您:

请输入正确的手机号码!
确定
关闭
获取产品图册资料

通过手机号验证后将自动下载

手机号码格式不正确,请重新输入
获取验证码

短信验证码已发送,可能会有延后请耐心等待

关闭
高级工程师
专业为您选型报价

输入手机号我们将及时与您取得联系

提交成功!

上海海洋泵阀制造有限公司提示您:

请输入正确的手机号码!
确定
工程师一对一服务

点击立刻咨询