| 序号 | 名称 | 序号 | 名称 |
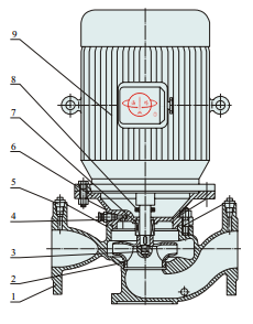
1 | 泵体 | 6 | 泵盖 | |
2 | 叶轮 | 7 | 机械密封 | |
3 | 叶轮螺母 | 8 | 挡水圈 | |
4 | 放气阀 | 9 | 电机 | |
5 | 螺塞 |
序号 | 产品型号 | 口径 | 额定流量 | 额定压力 | 额定功率 | 额定转速 |
mm | L/s | Mpa | kW | r/min | ||
1 | XBD4.5/10G-L | 65 | 10 | 0.45 | 7.5 | 2900 |
2 | XBD5.5/10G-L | 65 | 10 | 0.55 | 7.5 | 2900 |
3 | XBD6.5/10G-L | 65 | 10 | 0.65 | 11 | 2900 |
4 | XBD7.5/10G-L | 65 | 10 | 0.75 | 11 | 2900 |
5 | XBD8.0/10G-L | 65 | 10 | 0.8 | 15 | 2900 |
6 | XBD9.0/10G-L | 65 | 10 | 0.9 | 18.5 | 2900 |
7 | XBD10.0/10G-L | 65 | 10 | 1 | 18.5 | 2900 |
8 | XBD11.0/10G-L | 65 | 10 | 1.1 | 22 | 2900 |
9 | XBD11.5/10G-L | 65 | 10 | 1.15 | 22 | 2900 |
10 | XBD12.0/10G-L | 65 | 10 | 1.2 | 30 | 2900 |
11 | XBD13.0/10G-L | 65 | 10 | 1.3 | 30 | 2900 |
12 | XBD3.5/15G-L | 80 | 15 | 0.35 | 7.5 | 2900 |
13 | XBD4.5/15G-L | 80 | 15 | 0.45 | 11 | 2900 |
14 | XBD5.5/15G-L | 80 | 15 | 0.55 | 15 | 2900 |
15 | XBD6.5/15G-L | 80 | 15 | 0.65 | 15 | 2900 |
16 | XBD7.5/15G-L | 80 | 15 | 0.75 | 18.5 | 2900 |
17 | XBD8.5/15G-L | 80 | 15 | 0.85 | 22 | 2900 |
18 | XBD10.0/15G-L | 80 | 15 | 1 | 30 | 2900 |
19 | XBD11.0/15G-L | 80 | 15 | 1.1 | 30 | 2900 |
20 | XBD11.5/15G-L | 80 | 15 | 1.15 | 30 | 2900 |
21 | XBD12.0/15G-L | 80 | 15 | 1.2 | 37 | 2900 |
22 | XBD13.0/15G-L | 80 | 15 | 1.3 | 37 | 2900 |
23 | XBD14.0/15G-L | 80 | 15 | 1.4 | 45 | 2900 |
24 | XBD15.0/15G-L | 80 | 15 | 1.5 | 55 | 2900 |
25 | XBD3.2/20G-L | 100 | 20 | 0.32 | 11 | 2900 |
26 | XBD4.1/20G-L | 100 | 20 | 0.41 | 15 | 2900 |
27 | XBD4.5/20G-L | 100 | 20 | 0.45 | 18.5 | 2900 |
28 | XBD5.5/20G-L | 100 | 20 | 0.55 | 22 | 2900 |
29 | XBD6.0/20G-L | 100 | 20 | 0.6 | 22 | 2900 |
30 | XBD6.5/20G-L | 100 | 20 | 0.65 | 30 | 2900 |
31 | XBD7.5/20G-L | 100 | 20 | 0.75 | 30 | 2900 |
32 | XBD8.0/20G-L | 100 | 20 | 0.8 | 37 | 2900 |
33 | XBD9.0/20G-L | 100 | 20 | 0.9 | 37 | 2900 |
34 | XBD9.5/20G-L | 100 | 20 | 0.95 | 45 | 2900 |
35 | XBD10.5/20G-L | 100 | 20 | 1.05 | 45 | 2900 |
36 | XBD11.0/20G-L | 100 | 20 | 1.1 | 55 | 2900 |
37 | XBD12.0/20G-L | 100 | 20 | 1.2 | 55 | 2900 |
38 | XBD12.5/20G-L | 100 | 20 | 1.25 | 55 | 2900 |
39 | XBD13.0/20G-L | 100 | 20 | 1.3 | 55 | 2900 |
40 | XBD13.5/20G-L | 100 | 20 | 1.35 | 55 | 2900 |
41 | XBD14.0/20G-L | 100 | 20 | 1.4 | 75 | 2900 |
42 | XBD15.0/20G-L | 100 | 20 | 1.5 | 75 | 2900 |
43 | XBD15.8/20G-L | 100 | 20 | 1.58 | 90 | 2900 |
序号 | 产品型号 | 口径 | 额定流量 | 额定压力 | 额定功率 | 额定转速 |
mm | L/s | Mpa | kW | r/min | ||
44 | XBD3.4/25G-L | 100 | 25 | 0.34 | 15 | 2900 |
45 | XBD4.0/25G-L | 100 | 25 | 0.4 | 15 | 2900 |
46 | XBD4.6/25G-L | 100 | 25 | 0.46 | 18.5 | 2900 |
47 | XBD5.5/25G-L | 100 | 25 | 0.55 | 22 | 2900 |
48 | XBD6.5/25G-L | 100 | 25 | 0.65 | 30 | 2900 |
49 | XBD7.5/25G-L | 100 | 25 | 0.75 | 30 | 2900 |
50 | XBD8.5/25G-L | 100 | 25 | 0.85 | 37 | 2900 |
51 | XBD9.5/25G-L | 100 | 25 | 0.95 | 45 | 2900 |
52 | XBD10.5/25G-L | 100 | 25 | 1.05 | 45 | 2900 |
53 | XBD11.0/25G-L | 100 | 25 | 1.1 | 55 | 2900 |
54 | XBD12.0/25G-L | 100 | 25 | 1.2 | 55 | 2900 |
55 | XBD12.5/25G-L | 100 | 25 | 1.25 | 75 | 2900 |
56 | XBD13.5/25G-L | 100 | 25 | 1.35 | 75 | 2900 |
57 | XBD14.5/25G-L | 100 | 25 | 1.45 | 75 | 2900 |
58 | XBD15.8/25-L | 100 | 25 | 1.58 | 90 | 2900 |
59 | XBD3.2/30G-L | 100 | 30 | 0.32 | 15 | 2900 |
60 | XBD3.8/30G-L | 100 | 30 | 0.38 | 15 | 2900 |
61 | XBD4.5/30G-L | 100 | 30 | 0.45 | 18.5 | 2900 |
62 | XBD5.0/30G-L | 100 | 30 | 0.5 | 22 | 2900 |
63 | XBD5.5/30G-L | 100 | 30 | 0.55 | 22 | 2900 |
64 | XBD6.0/30G-L | 100 | 30 | 0.6 | 30 | 2900 |
65 | XBD7.0/30G-L | 100 | 30 | 0.7 | 30 | 2900 |
66 | XBD7.5/30G-L | 100 | 30 | 0.75 | 30 | 2900 |
67 | XBD8.0/30G-L | 100 | 30 | 0.8 | 37 | 2900 |
68 | XBD8.5/30G-L | 100 | 30 | 0.85 | 37 | 2900 |
69 | XBD9.0/30G-L | 100 | 30 | 0.9 | 45 | 2900 |
70 | XBD10.5/30G-L | 100 | 30 | 1.05 | 45 | 2900 |
71 | XBD11.0/30G-L | 100 | 30 | 1.1 | 55 | 2900 |
72 | XBD12.0/30G-L | 100 | 30 | 1.2 | 55 | 2900 |
73 | XBD12.5/30G-L | 100 | 30 | 1.25 | 75 | 2900 |
74 | XBD14.0/30G-L | 100 | 30 | 1.4 | 75 | 2900 |
75 | XBD15.0/30G-L | 100 | 30 | 1.5 | 90 | 2900 |
76 | XBD15.8/30G-L | 100 | 30 | 1.58 | 110 | 2900 |
77 | XBD2.9/40G-L | 125 | 40 | 0.29 | 18.5 | 2900 |
78 | XBD3.5/40G-L | 125 | 40 | 0.35 | 22 | 2900 |
79 | XBD4.5/40G-L | 125 | 40 | 0.45 | 30 | 2900 |
80 | XBD5.5/40G-L | 125 | 40 | 0.55 | 37 | 2900 |
81 | XBD6.0/40G-L | 125 | 40 | 0.6 | 37 | 2900 |
82 | XBD6.5/40G-L | 125 | 40 | 0.65 | 37 | 2900 |
83 | XBD7.0/40G-L | 125 | 40 | 0.7 | 45 | 2900 |
84 | XBD7.5/40G-L | 125 | 40 | 0.75 | 45 | 2900 |
85 | XBD8.0/40G-L | 125 | 40 | 0.8 | 55 | 2900 |
86 | XBD9.0/40G-L | 125 | 40 | 0.9 | 55 | 2900 |
87 | XBD10.0/40G-L | 125 | 40 | 1 | 75 | 2900 |
88 | XBD11.0/40G-L | 125 | 40 | 1.1 | 75 | 2900 |
89 | XBD12.0/40G-L | 150 | 40 | 1.2 | 75 | 2900 |
90 | XBD13.0/40G-L | 150 | 40 | 1.3 | 75 | 2900 |
91 | XBD14.0/40G-L | 150 | 40 | 1.4 | 90 | 2900 |
92 | XBD15.0/40G-L | 150 | 40 | 1.5 | 110 | 2900 |
93 | XBD15.8/40G-L | 150 | 40 | 1.58 | 132 | 2900 |
序号 | 产品型号 | 口径 | 额定流量 | 额定压力 | 额定功率 | 额定转速 |
mm | L/s | Mpa | kW | r/min | ||
94 | XBD3.0/50G-L | 125 | 50 | 0.3 | 22 | 2900 |
95 | XBD4.0/50G-L | 125 | 50 | 0.4 | 30 | 2900 |
96 | XBD5.0/50G-L | 125 | 50 | 0.5 | 37 | 2900 |
97 | XBD5.5/50G-L | 125 | 50 | 0.55 | 37 | 2900 |
98 | XBD6.0/50G-L | 125 | 50 | 0.6 | 45 | 2900 |
99 | XBD6.5/50G-L | 125 | 50 | 0.65 | 45 | 2900 |
100 | XBD7.0/50G-L | 125 | 50 | 0.7 | 55 | 2900 |
101 | XBD8.0/50G-L | 125 | 50 | 0.8 | 55 | 2900 |
102 | XBD9.0/50G-L | 125 | 50 | 0.9 | 75 | 2900 |
103 | XBD10.0/50G-L | 125 | 50 | 1 | 75 | 2900 |
104 | XBD11.0/50G-L | 125 | 50 | 1.1 | 90 | 2900 |
105 | XBD12.0/50G-L | 125 | 50 | 1.2 | 90 | 2900 |
106 | XBD13.0/50G-L | 150 | 50 | 1.3 | 90 | 2900 |
107 | XBD14.0/50G-L | 150 | 50 | 1.4 | 110 | 2900 |
108 | XBD15.0/50G-L | 150 | 50 | 1.5 | 132 | 2900 |
109 | XBD15.8/50G-L | 150 | 50 | 1.58 | 160 | 2900 |
110 | XBD3.2/60G-L | 150 | 60 | 0.32 | 30 | 2900 |
111 | XBD4.0/60G-L | 150 | 60 | 0.4 | 37 | 2900 |
112 | XBD5.0/60G-L | 150 | 60 | 0.5 | 45 | 2900 |
113 | XBD6.0/60G-L | 150 | 60 | 0.6 | 55 | 2900 |
114 | XBD7.0/60G-L | 150 | 60 | 0.7 | 55 | 2900 |
115 | XBD8.0/60G-L | 150 | 60 | 0.8 | 75 | 2900 |
116 | XBD9.0/60G-L | 150 | 60 | 0.9 | 75 | 2900 |
117 | XBD10.0/60G-L | 150 | 60 | 1 | 90 | 2900 |
118 | XBD10.2/60G-L | 150 | 60 | 1.02 | 110 | 2900 |
119 | XBD11.0/60G-L | 150 | 60 | 1.1 | 110 | 2900 |
120 | XBD12.0/60G-L | 150 | 60 | 1.2 | 110 | 2900 |
121 | XBD13.0/60G-L | 150 | 60 | 1.3 | 132 | 2900 |
122 | XBD14.0/60G-L | 150 | 60 | 1.4 | 160 | 2900 |
123 | XBD15.0/60G-L | 150 | 60 | 1.5 | 160 | 2900 |
124 | XBD3.2/70G-L | 150 | 70 | 0.32 | 37 | 2900 |
125 | XBD4.0/70G-L | 150 | 70 | 0.4 | 45 | 2900 |
126 | XBD5.0/70G-L | 150 | 70 | 0.5 | 55 | 2900 |
127 | XBD6.0/70G-L | 150 | 70 | 0.6 | 75 | 2900 |
128 | XBD7.0/70G-L | 150 | 70 | 0.7 | 90 | 2900 |
129 | XBD8.0/70G-L | 150 | 70 | 0.8 | 90 | 2900 |
130 | XBD9.0/70G-L | 150 | 70 | 0.9 | 90 | 2900 |
131 | XBD10.0/70G-L | 150 | 70 | 1 | 110 | 2900 |
132 | XBD11.0/70G-L | 150 | 70 | 1.1 | 110 | 2900 |
133 | XBD12.0/70G-L | 150 | 70 | 1.2 | 132 | 2900 |
134 | XBD13.0/70G-L | 150 | 70 | 1.3 | 160 | 2900 |
135 | XBD3.2/80G-L | 200 | 80 | 0.32 | 45 | 2900 |
136 | XBD4.0/80G-L | 200 | 80 | 0.4 | 45 | 2900 |
137 | XBD5.0/80G-L | 200 | 80 | 0.5 | 55 | 2900 |
138 | XBD5.8/80G-L | 200 | 80 | 0.58 | 90 | 2900 |
139 | XBD6.0/80G-L | 200 | 80 | 0.6 | 75 | 2900 |
140 | XBD7.0/80G-L | 200 | 80 | 0.7 | 90 | 2900 |
141 | XBD8.0/80G-L | 200 | 80 | 0.8 | 110 | 2900 |
142 | XBD9.0/80G-L | 200 | 80 | 0.9 | 110 | 2900 |
143 | XBD10.0/80G-L | 200 | 80 | 1 | 132 | 2900 |
144 | XBD11.0/80G-L | 200 | 80 | 1.1 | 132 | 2900 |
145 | XBD11.3/80G-L | 200 | 80 | 1.13 | 185 | 2900 |
146 | XBD7.2/90G-L | 200 | 90 | 0.72 | 110 | 2900 |
147 | XBD8.4/90G-L | 200 | 90 | 0.84 | 132 | 2900 |
148 | XBD9.0/90G-L | 200 | 90 | 0.9 | 160 | 2900 |
149 | XBD10.0/90G-L | 200 | 90 | 1 | 160 | 2900 |
150 | XBD11.0/90G-L | 200 | 90 | 1.1 | 185 | 2900 |
序号 | 产品型号 | 口径 | 额定流量 | 额定压力 | 额定功率 | 额定转速 |
mm | L/s | Mpa | kW | r/min |
| 1、直接安装1进口阀门2直管3弯管4直管5进管6弯管7直管8出口阀门 | 2、联接板安装1进口阀门2直管3弯管4直管5联接板6直管7弯管8直管9出口阀门 |
| 1、联接板,加隔振器安装1进口阀门2挠性接头3弯管4直管5联接板6隔振器7直管8弯管9挠性接头10出口阀门 | 2、联接板,加隔振器安装1进口阀门2挠性接头3直管4联接板5隔振器6直管7出口阀门 |
电机功率 | 轴承 | 机械密封 |
0.18KW、0.12KW | 201 | 104-12 |
0.25KW、0.37KW | 202 | 104-14 |
0.55KW、0.75KW、1.1KW-2 | 204 | 109-18 |
1.1KW-4、 1.5KW、2.2KW-2 | 205 | 109-20 |
2.2KW-4、3KW | 206 | 109-25 |
| 4KW | 306 | 109-25 |
| 5.5KW、7.5KW-2、7.5KW-4 | 308 | 109-25 |
11KW、15KW、 18.5KW-2、22KW-2 | 309 | 109-35 |
18.5KW-4、22KW-4 | 311 | 109-45 |
| 30KW、37KW-2 | 312 | 109-45 |
| 37KW-4、45KW | 313 | 109-45 |
| 55KW、75KW-2、90KW-2 | 314 | 109-55 |
管径mm | 流量(L/S) | |||||||||||||||||||||||
1 | 2 | 4 | 6 | 8 | 10 | |||||||||||||||||||
25 | 3.2 | 13 | ||||||||||||||||||||||
38 | 3.5 | 14 | 15 | 15 | 20 | |||||||||||||||||||
50 | 0.8 | 3.1 | 13 | 29 | 25 | 30 | ||||||||||||||||||
65 | 0.8 | 3.2 | 7.1 | 13 | 20 | 40 | 50 | |||||||||||||||||
75 | 0.4 | 1.6 | 3.3 | 5.9 | 9.6 | 21.6 | 60 | 70 | ||||||||||||||||
100 | 0.4 | 0.8 | 1.3 | 2.1 | 6.8 | 8.6 | 13 | 19. | 80 | 90 | ||||||||||||||
125 | 0.2 | 0.4 | 0.6 | 1.3 | 2.7 | 4.1 | 5.9 | 10. | 100 | 110 | ||||||||||||||
150 | 0.1 | 0.2 | 0.5 | 1.1 | 1.6 | 2.3 | 4.2 | 6.4 | 9.4 | 120 | 130 | |||||||||||||
175 | 0.1 | 0.2 | 0.5 | 0.7 | 1.0 | 1.9 | 2.9 | 4.3 | 5.8 | 7.7 | 9.6 | 140 | 160 | |||||||||||
200 | 0.1 | 0.2 | 0.3 | 0.5 | 0.9 | 1.5 | 2.1 | 2.9 | 3.7 | 4.7 | 6.1 | 7.2 | 8.5 | 180 | 200 | |||||||||
250 | 0.1 | 0.1 | 0.2 | 0.3 | 0.5 | 0.7 | 0.9 | 1.2 | 1.5 | 1.9 | 2.3 | 2.8 | 3.3 | 3.7 | 4.9 | 5.2 | ||||||||
300 | 0.1 | 0.1 | 0.2 | 0.3 | 0.4 | 0.5 | 0.6 | 0.7 | 0.9 | 1.1 | 1.3 | 1.5 | 2.0 | 2.4 | 3.0 | |||||||||
种类 | 折合直管直径倍数 | 备注 |
全开闸阀 | 12 | 未畅开加倍 |
标准弯管 | 25 | |
逆止阀 | 100 | |
底阀 | 100 | 部分堵塞加倍 |
| 管路直径流量流速mmL/Sm/s2512.04382.51.69504.172.12656.672.017510.02.2610018.42.33 | 管路直径流量流速mmL/Sm/s12530.02.4415043.02.4517560.02.4920083.32.69250133.32.72300192.02.71 |
故障现象 | 可能产生的原因 | 排除方法 |
1、水泵不出水 | a、进出口阀门未打开,进出管路阻塞,流道叶轮阻塞。 | a、检查,去除阻塞物 |
2、水泵流量不足 | a、先按1.原因检查。 | a、先按1.排除 |
| 3、功率过大 | a、超过额定流量使用。 | a、调节流量关小出口阀门。 |
| 4、杂音振动 | a、管路支撑不稳。 | a、稳固管路 |
5、电机发热 | a、流量过大、超载运行。 | a、关小出口阀。 |
6、水泵漏水 | a、机械密封磨损。 | a、更换。 |
消防泵其它系列产品
XBD-HYSJ长轴深井消防泵组
XBC-SOW单级双吸柴油机消防泵
XBC-ISW卧式单级柴油消防泵组
QHYX-GDL消防喷淋给水设备
W*/*-HY LG消防增压稳压给水设备
W*/*-HY消防稳压给水设备
QHYX-DL消防增压给水设备
ZW(L)消防稳压给水设备
XBD-HYW卧式单级消防泵组
XBD-ISG立式单级消防泵组
XBD-L立式单级消防泵组
XBD-HY立式单级单吸消防稳压泵组
XBD-CDL立式多级稳压消防泵组
XBD-WY立式多级稳压消防泵组
XBD-LG立式便拆多级消防泵组
XBD-GDL立式多级消防泵组
XBD-DL立式多级消防泵
通过手机号验证后将自动下载
短信验证码已发送,可能会有延后请耐心等待
输入手机号我们将及时与您取得联系
上海海洋泵阀制造有限公司提示您:
点击立刻咨询