IHG立式不锈钢管道化工泵
IHG立式不锈钢管道化工泵
IHG立式不锈钢管道化工泵

产品型号:

产品介绍

型号意义

 

产品简介
IHG立式不锈钢管道化工泵根据IS单级单吸离心泵与管道泵之性能参数,参照ISO2858和的国家管道泵标准JB/T53058-93进行设计制造的高效节能产品。该泵采用力模型优化设计而成。同时根据使用温度、介质等不同在ISG型基础上派生出热水泵、高温泵、化工泵油泵等,是目前国家标准定型推广产品。

 

产品特点
1、泵为立式结构,进出口口径相同,且们于同一中心线上,可象阀门一样安装于管路之中,外形紧凑美观,占地面积小,建筑投入低,如加上防护罩则可置于户外使用.
2、叶轮直接安在电机的加长轴上,轴向尺寸短,结构紧凑,泵与电机轴承配置合理,能有效地平衡泵运转产生的径向和轴向负荷,从而保证了泵的运行平衡振动噪音很低。
3、轴封采用机械密封或机械密封组合,采用进口钛合金密封环、中型耐高温机械密封和采用硬质合金材质,耐磨密封,能有效地增长机械密封的使用寿命。
4、安装检修方便,无需拆动管路系统,只要卸下泵联体座螺母即可抽出全部转子部件。
5、可根据使用要求即流量和扬程的需要采用泵的串、并联运行方式。
6、可根据管路布置的要求采用泵的竖式和横式安装。

 

产品用途
1、IHG立式不锈钢管道化工泵,供输送清水及物理化学性质类似于清水的其他液体之用,适用于工业和城市给排水,高层建筑增压送水,园林灌溉,消防增压及设备配套,使用温度T:≤80℃。
2、IRG(GRG)型热水(高温)循环泵广泛适用于能源、冶金、化工、纺织、造纸、以及宾馆饭店等锅炉高温热水增压循环输送及城 市采暖系统循环用泵,IRG使用温度T:≤120℃、GRG使用温度T:≤240℃。
3、IHG立式不锈钢化工泵,供输送不含固体颗粒,具有腐蚀性,粘度类似于水的液体,适用于石油、化工、冶金 电力、造纸、食品、制药和合成纤维等部门,使用温度T:-20℃-120℃。
4、YG管道油泵,供输送汽油、柴油、煤油等石油产品,使用温度T:-20℃-120℃。

 

使用条件
1、 吸入压力≤1.0Mpa,或泵系统工作压力≤1.6Mpa,即泵吸入口压力+泵扬程≤1.6Mpa、泵静压试验压力为2.5Mpa,订货时请注明系统工作压力。泵系统工作压力大于1.6Mpa时应在订货时另行提出,以便在制造时泵的过流部件和联接部分采用铸钢材料。
2、 环境温度<40℃,相对湿度<95%。
3、 所输送介质中固体颗粒体积含量不超过单位体积的0.1%,粒度<0.2mm.
注:如使用介质为带有细小颗粒,请在订货时说明,以便采用耐磨式机械密封。

 

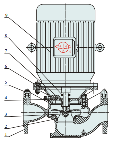
结构示意图

IHG立式不锈钢管道化工泵泵结构示意图

序号

名称

序号

名称

1

泵体

6

泵盖

2

叶轮

7

机械密封

3

叶轮螺母

8

挡水圈

4

放气阀

9

电机

5

螺塞




 

性能参数

型号

口径

流量

扬程

效率

转速

电机功率

必需汽蚀余量

重量

mm

m3/h

L/S

m

%

r/min

KW

(NPSH)r

Kg

20-110

20

1.8
2.5
3.3

0.5
0.69
0.91

16
15
13.5

25
34
35

2800

0.37

2.3

25

20-160

20

1.8
2.5
3.3

0.5
0.69
0.91

33
32
30

19
25
23

2900

0.75

2.3

29

25-110

25

2.8
4
5.2

0.78
1.11
1.44

16
15
13.5

34
42
41

2900

0.55

2.3

26

25-125

25

2.8
4
5.2

0.78
1.11
1.44

20.6
20
18

28
36
35

2900

0.75

2.3

28

25-125A

25

2.5
3.6
4.6

0.69
1.0
1.28

17
16
14.4

35

2900

0.55

2.3

27

25-160

25

2.8
4
5.2

0.78
1.11
1.44

33
32
30

24
32
33

2900

1.5

2.3

39

25-160A

25

2.6
3.7
4.9

0.12
1.03
1.36

29
28
26

31

2900

1.1

2.3

34

32-100

32

3.5
5
6.5

0.97
0.39
1.8

13.2
12.5
11.3

40
44
42

2900

0.75

2.3

28

32-125

32

3.5
5
6.5

0.97
0.39
1.8

22
20
18

40
44
42

2900

0.75

2.3

28

32-125A

32

3.1
4.5
5.8

0.86
1.25
1.61

17.6
16
14.4

43

2900

0.75

2.3

28

32-160

32

3.5
5
6.5

0.97
0.39
1.8

33.2
32
30.2

48
54
53

2900

1.5

2.0

39

32-160A

32

3.1
4.5
5.8

0.86
1.25
1.61

29
28
26.3

48
54
53

2900

1.1

2.0

39

32-200

32

3.5
5
6.5

0.97
0.39
1.8

50.5
50
48

34
40
42

2900

3

2.0

77

32-200A

32

2.8
4
5.2

0.78
1.11
1.44

44.6
44
42.7

34
40
42

2900

2.2

2.0

74

32-100(I)

32

4.4
6.3
8.3

1.22
1.75
2.32

13.2
12.5
11.3

48
54
53

2900

0.75

2.0

32

32-100(I)A

32

4.4
6.3
8.3

1.22
1.75
2.32

13.2
12.5
11.3

48
54
53

2900

0.75

2.0

32

32-125(I)

32

4.4
6.3
8.3

1.22
1.75
2.32

22
20
18

48
54
53

2900

1.1

2.3

34

32-125(I)A

32

4.4
6.3
8.3

1.22
1.75
2.32

17.6
16
14.4

40
45
41

2900

0.75

2.3

33

32-160(I)

32

4.4
6.3
8.3

1.22
1.75
2.32

33.2
32
30.2

34
40
42

2900

2.2

2.0

47

32-160(I)A

32

4.1
5.9
7.8

1.14
1.64
2.17

29
28
26.3

34
39
39

2900

1.5

2.3

43

32-160(I)B

32

3.8
5.5
7.2

1.06
1.53
2.0

25.5
24
22.5

34
38
37

2900

1.1

2.3

38

32-200(I)

32

4.4
6.3
8.3

1.22
1.75
2.32

50.5
50
48

26
33
35

2900

4

2.0

43

32-200(I)A

32

4.1
5.9
7.8

1.14
1.64
2.17

45
44
42

26
31
30

2900

3

2.3

62

型号

口径

流量

扬程

效率

转速

电机功率

必需汽蚀余量

重量

mm

m3/h

L/S

m

%

r/min

KW

(NPSH)r

Kg

40-100

40

4.4
6.3
8.3

1.22
1.75
2.31

13.2
12.5
11.3

48
54
53

2900

0.55

2.3

32

40-100A

40

3.9
5.6
7.4

1.08
1.56
2.06

10.6
10
9

52

2900

0.37

2.3

32

40-125

40

4.4
6.3
8.3

1.22
1.75
2.31

21
20
18

41
46
43

2900

1.1

2.3

34

40-125A

40

3.9
5.6
7.4

1.08
1.56
2.06

17.6
16
14.4

40
45
41

2900

0.75

2.3

33

40-160

40

4.4
6.3
8.3

1.22
1.75
2.31

33
32
30

35
40
40

2900

2.2

2.3

47

40-160A

40

4.1
5.9
7.8

1.14
1.64
2.17

29
28
26.3

34
39
39

2900

1.5

2.3

43

40-160B

40

3.8
5.5
7.2

1.06
1.53
2.0

25.5
24
22.5

34
38
37

2900

1.1

2.3

38

40-200

40

4.4
6.3
8.3

1.22
1.75
2.31

51
50
48

26
33
32

2900

4

2.3

74

40-200A

40

4.1
5.9
7.8

1.14
1.64
2.17

45
44
42

26
31
30

2900

3

2.3

62

40-200B

40

3.7
5.3
7.0

1.03
1.47
1.94

38
36
34.5

29

2900

2.2

2.3

52

40-250

40

4.4
6.3
8.3

1.22
1.75
2.31

82
80
74

24
28
28

2900

7.5

2.3

105

40-250A

40

4.1
5.9
7.8

1.14
1.64
2.17

72
70
65

24
28
27

2900

5.5

2.3

98

40-250B

40

3.8
5.5
7.0

1.06
1.53
1.94

61.5
60
56

23
27
26

2900

4

2.3

77

型号

口径

流量

扬程

效率

转速

电机功率

必需汽蚀余量

重量

mm

m3/h

L/S

m

%

r/min

KW

(NPSH)r

Kg

40-100(I)

40

8.8
12.5
16.3

2.44
3.47
4.53

13.2
12.5
11.3

55
62
60

2900

1.1

2.3

34

40-100(I)A

40

8
11
14.5

2.22
3.05
4.03

10.6
10
9

60

2900

0.75

2.3

32

40-125(I)

40

8.8
12.5
16.3

2.44
3.47
4.53

21.2
20
17.8

49
58
57

2900

1.5

2.3

38

40-125(I)A

40

8
11
14.5

2.22
3.05
4.03

17
16
14

57

2900

1.1

2.3

33

40-160(I)

40

8.8
12.5
16.3

2.44
3.47
4.53

33
32
30

45
52
51

2900

3

2.3

56

40-160(I)A

40

8.2
11.7
15.2

2.28
3.25
4.22

29
28
26

44
51
50

2900

2.2

2.3

47

40-160(I)B

40

7.3
10.4
13.5

2.38
2.89
3.75

23
22
20.5

50

2900

1.5

2.3

43

40-200(I)

40

8.8
12.5
16.3

2.44
3.47
4.53

51.2
50
48

38
46
46

2900

5.5

2.3

85

40-200(I)A

40

8.3
11.7
15.3

2.31
3.25
4.25

45.0
44
42

37
45
45

2900

4

2.3

75

40-200(I)B

40

7.5
10.6
13.8

2.08
2.94
3.83

37
36
34

44

2900

3

2.3

63

40-250(I)

40

8.8
12.5
16.3

2.44
3.47
4.53

81.2
80
77.5

31
38
40

2900

11

2.3

145

40-250(I)A

40

8.2
11.6
15.2

2.28
3.22
4.22

71.0
70
68

38

2900

7.5

2.3

95

40-250(I)B

40

7.6
10.8
14

2.11
3.0
3.89

61.4
60
58

37

2900

7.5

2.3

94

40-250(I)C

40

7.1
10.0
13.1

1.97
2.78
3.64

53.2
52
50.4

36

2900

5.5

2.3

88

型号

口径

流量

扬程

效率

转速

电机功率

必需汽蚀余量

重量

mm

m3/h

L/S

m

%

r/min

KW

(NPSH)r

Kg

50-100

50

8.8
12.5
16.3

2.44
3.47
4.53

13.6
12.5
11.3

55
62
60

2900

1.1

2.3

36

50-100A

50

8
11
14.5

2.22
3.05
4.03

11
10
9

60

2900

0.75

2.3

35

50-125

50

8.8
12.5
16.3

2.44
3.47
4.53

21.5
20
17.8

49
58
57

2900

1.5

2.3

43

50-125A

50

8
11
14.5

2.22
3.05
4.03

17
16
14

57

2900

1.1

2.3

38

50-160

50

8.8
12.5
16.3

2.44
3.47
4.53

33
32
30

45
52
51

2900

3

2.3

59

50-160A

50

8.2
11.7
15.2

2.28
3.25
4.22

29
28
26

44
51
50

2900

2.2

2.3

51

50-160B

50

7.3
10.4
13.5

2.38
2.89
3.75

23
22
20.5

50

2900

1.5

2.3

47

50-200

50

8.8
12.5
16.3

2.44
3.47
4.53

52
50
48

38
46
46

2900

5.5

2.3

101

50-200A

50

8.3
11.7
15.3

2.31
3.25
4.25

45.8
44
42

37
45
45

2900

4

2.3

80

50-200B

50

7.5
10.6
13.8

2.08
2.94
3.83

37
36
34

44

2900

3

2.3

68

50-250

50

8.8
12.5
16.3

2.44
3.47
4.53

82
80
77.5

29
38
40

2900

11

2.3

160

50-250A

50

8.2
11.6
15.2

2.28
3.22
4.22

71.5
70
68

38

2900

7.5

2.3

115

50-250B

50

7.6
10.8
14

2.11
3.0
3.89

61.4
60
58

37

2900

7.5

2.3

114

50-250C

50

7.1
10.0
13.1

1.97
2.78
3.64

53.2
52
50.4

36

2900

5.5

2.3

108

型号

口径

流量

扬程

效率

转速

电机功率

必需汽蚀余量

重量

mm

m3/h

L/S

m

%

r/min

KW

(NPSH)r

Kg

50-100(I)

50

17.5
25
32.5

4.86
6.94
9.03

13.7
12.5
10.5

67
69
69

2900

1.5

2.5

41

50-100(I)A

50

15.6
22.3
29

4.3
6.19
8.1

11
10
8.4

65
67
68

2900

1.1

2.5

36

50-125(I)

50

17.5
25
32.5

4.86
6.94
9.03

21.5
20
18

60
68
67

2900

3

2.5

56

50-125(I)A

50

15.6
22.3
29

4.33
6.19
8.1

17
16
13.6

58
66
65

2900

2.2

2.5

48

50-160(I)

50

17.5
25
32.5

4.68
6.94
9.03

34.4
32
27.5

54
63
60

2900

4

2.5

72

50-160(I)A

50

16.4
23.4
30.4

4.56
6.5
8.44

30
28
24

54
62
59

2900

4

2.5

71

50-160(I)B

50

15.0
21.6
28

4.17
6.0
7.78

26
24
20.6

58

2900

3

2.5

59

50-200(I)

50

17.5
25
32.5

4.86
6.94
9.03

52.7
50
45.5

49
58
59

2900

7.5

2.5

108

50-200(I)A

50

16.4
23.5
30.5

4.56
6.53
8.47

46.4
44
40

48
57
58

2900

7.5

2.5

107

50-200(I)B

50

15.2
21.8
28.3

4.22
6.06
7.86

40
38
34.5

55

2900

5.5

2.5

100

50-250(I)

50

17.5
25
32.5

4.86
6.94
9.03

82
80
76.5

39
50
52

2900

15

2.5

175

50-250(I)A

50

16.4
23.4
30.5

4.56
6.5
8.47

71.5
70
67

39
50
52

2900

11

2.5

165

50-250(I)B

50

15
21.6
28

4.17
6.0
7.78

61
60
57.4

38
49
54

2900

11

2.5

165

50-315(I)

50

17.5
25
32.5

4.86
6.94
9.03

128
125
122

30
40
44

2900

30

2.5

310

50-315(I)A

50

16.6
23.7
31

4.61
6.58
8.6

115
113
110

30
40
44

2900

22

2.5

245

50-315(I)B

50

15.7
22.5
29.2

4.36
6.25
8.0

103
101
98

39

2900

18.5

2.5

215

50-315(I)C

50

14.4
20.6
26.8

4.0
5.72
7.44

86
85
83

38

2900

15

2.5

195

型号

口径

流量

扬程

效率

转速

电机功率

必需汽蚀余量

重量

mm

m3/h

L/S

m

%

r/min

KW

(NPSH)r

Kg

65-100

65

17.5
25
32.5

4.86
6.94
9.03

13.7
12.5
10.5

67
69
69

2900

1.5

2.5

46

65-100A

65

15.6
22.3
29

4.3
6.19
8.1

11
10
8.4

65
67
68

2900

1.1

2.5

41

65-125

65

17.5
25
32.5

4.86
6.94
9.03

21.5
20
18

60
68
67

2900

3

2.5

58

65-125A

65

15.6
22.3
29

4.33
6.19
8.1

17
16
14.4

58
66
65

2900

2.2

2.5

49

65-160

65

17.5
25
32.5

4.86
6.94
9.03

34.4
32
27.5

54
63
60

2900

4

2.5

75

65-160A

65

16.4
23.4
30.4

4.56
6.5
8.44

30
28
24

54
62
59

2900

4

2.5

75

65-160B

65

15.0
21.6
28

4.17
6.0
7.78

26
24
20.6

58

2900

3

2.5

63

65-200

65

17.5
25
32.5

4.86
6.94
9.03

52.7
50
45.5

49
58
59

2900

7.5

2.5

107

65-200A

65

16.4
23.5
30.5

4.56
6.53
8.47

46.4
44
40

48
57
58

2900

7.5

2.5

107

65-200B

65

15.2
21.8
28.3

4.22
6.06
7.86

40
38
34.5

55

2900

5.5

2.5

100

65-250

65

17.5
25
32.5

4.86
6.94
9.03

82
80
76.5

39
50
52

2900

15

2.5

180

65-250A

65

16.4
23.4
30.5

4.56
6.5
8.47

71.5
70
67

39
50
52

2900

11

2.5

170

65-250B

65

15
21.6
28

4.17
6.0
7.78

61
60
57.4

38
49
54

2900

11

2.5

170

65-315

65

17.5
25
32.5

4.86
6.94
9.03

127
125
122

32
40
44

2900

30

2.5

320

65-315A

65

16.6
23.7
31

4.61
6.58
8.6

115
113
110

32
40
44

2900

22

2.5

255

65-315B

65

15.7
22.5
29.2

4.36
6.25
8.0

103
101
98

39

2900

18.5

2.5

225

65-315C

65

14.4
20.6
26.8

4.0
5.72
7.44

86
85
83

38

2900

15

2.5

205

型号

口径

流量

扬程

效率

转速

电机功率

必需汽蚀余量

重量

mm

m3/h

L/S

m

%

r/min

KW

(NPSH)r

Kg

65-100(I)

65

35
50
65

9.72
13.9
18.1

13.8
12.5
10

67
73
70

2900

3

3.0

63

65-100(I)A

65

31.3
44.7
58

8.7
12.4
16.1

11
10
8

66
72
69

2900

2.2

3.0

53

65-125(I)

65

35
50
65

9.72
13.9
18.1

22
20
17

67
72.5
70

2900

5.5

3.0

99

65-125(I)A

65

31.3
44.7
58

8.7
12.5
16.1

17.5
16
13.6

66
71
69

2900

4

3.0

78

65-160(I)

65

35
50
65

9.72
13.9
18.1

35
32
28

63
71
70

2900

7.5

3.0

103

65-160(I)A

65

32.7
46.7
61

9.1
13.0
16.9

30.6
28
24

62
70
69

2900

7.5

3.0

103

65-160(I)B

65

30.3
43.3
56.3

8.4
12.0
15.6

26
24
21

69

2900

5.5

3.0

97

65-200(I)

65

35
50
65

9.72
13.9
18.1

53.5
50
46

55
67
68

2900

15

3.0

176

65-200(I)A

65

32.8
47
61

9.1
13.1
16.9

47
44
40

54
66
67

2900

11

3.0

166

65-200(I)B

65

30.5
43.5
56.6

8.5
12.1
15.7

40.6
38
33.4

65

2900

7.5

3.0

114

65-250(I)

65

35
50
65

9.72
13.9
18.1

83
80
72

52
59
60

2900

22

3.0

235

65-250(I)A

65

32.5
46.7
61

9.0
13.0
16.9

73
70
63

52
59
60

2900

18.5

3.0

205

65-250(I)B

65

30
43.3
56

8.3
12.0
15.6

62
60
54

58

2900

15

3.0

180

65-315(I)

65

35
50
65

9.72
13.9
18.1

128
125
121

44
54
57

2900

37

3.0

350

65-315(I)A

65

32.5
46.5
60.5

9.0
12.9
16.8

112.6
110
106.4

43
54
57

2900

30

3.0

335

65-315(I)B

65

31
44.5
58

8.6
12.4
16.1

102.5
100
98

53

2900

30

3.0

335

65-315(I)C

65

29
41
53.6

8.1
11.4
14.9

87
85
83

51

2900

22

3.0

270

型号

口径

流量

扬程

效率

转速

电机功率

必需汽蚀余量

重量

mm

m3/h

L/S

m

%

r/min

KW

(NPSH)r

Kg

80-100

80

35
50
65

9.72
13.9
18.1

13.8
12.5
10

67
73
70

2900

3

3.0

63

80-100A

80

31.3
44.7
58

8.7
12.5
16.1

11
10
8

66
72
69

2900

2.2

3.0

54

80-125

80

35
50
65

9.72
13.9
18.1

22
20
17

67
72.5
70

2900

5.5

3.0

99

80-125A

80

31.3
45
58

8.7
12.5
16.1

17.5
16
13.6

66
71
69

2900

4

3.0

79

80-160

80

35
50
65

9.72
13.9
18.1

35
32
28

63
71
70

2900

7.5

3.0

105

80-160A

80

32.7
46.7
61

9.1
13.0
16.9

30.6
28
24

62
70
69

2900

7.5

3.0

105

80-160B

80

30.3
43.3
56.3

8.4
12.0
15.6

26
24
21

69

2900

5.5

3.0

98

80-200

80

35
50
65

9.72
13.9
18.1

53.5
50
46

55
67
68

2900

15

3.0

175

80-200A

80

32.8
47
61

9.1
13.1
16.9

47
44
40

54
66
67

2900

11

3.0

165

80-200B

80

30.5
43.5
56.6

8.5
12.1
15.7

40.6
38
33.4

65

2900

7.5

3.0

115

80-250

80

35
50
65

9.72
13.9
18.1

83
80
72

52
59
60

2900

22

3.0

240

80-250A

80

32.5
46.7
61

9.0
13.0
16.9

73
70
63

52
59
60

2900

18.5

3.0

210

80-250B

80

30
43.3
56

8.3
12.0
15.6

62
60
54

58

2900

15

3.0

185

80-315

80

35
50
65

9.72
13.9
18.1

128
125
122

43
54
57

2900

37

3.0

355

80-315A

80

32.5
46.5
60.5

9.0
12.9
16.8

112.6
110
107.4

43
54
57

2900

30

3.0

340

80-315B

80

31
44.5
58

8.6
12.4
16.1

102.5
100
98

53

2900

30

3.0

340

80-315C

80

29
41
53.6

8.1
11.4
14.9

98
85
83

51

2900

22

3.0

275

80-350

80

35
50
65

9.72
13.9
18.1

146
150
142

55
66
67

2900

55

3.0

570

80-350A

80

31
44.5
58

8.6
12.4
16.1

138.4
142
134.8

65

2900

45

3.0

470

80-350B

80

29
41
53.6

8.1
11.4
14.9

131.4
135
127.8

63

2900

37

3.0

440

型号

口径

流量

扬程

效率

转速

电机功率

必需汽蚀余量

重量

mm

m3/h

L/S

m

%

r/min

KW

(NPSH)r

Kg

80-100(I)

80

70
100
130

19.4
27.8
36.1

13.6
12.5
11

66
76
75

2900

5.5

4.5

108

80-100(I)A

80

62.6
89
116

17.4
24.7
32.2

11
10
8.8

64
74
74

2900

4

4.5

87

80-125(I)

80

70
100
130

19.4
27.8
36.1

23.5
20
14

70
76
65

2900

11

4.5

163

80-125(I)A

80

62.6
89
116

17.4
24.7
32.2

19
16
11

68
74
65

2900

7.5

4.5

113

80-160(I)

80

70
100
130

19.4
27.8
36.1

36.5
32
24

70
76
65

2900

15

4.5

184

80-160(I)A

80

65.4
93.5
121.6

18.2
26.0
33.8

32
28
21

68
74
67

2900

11

4.5

174

80-160(I)B

80

60.6
86.6
112.5

16.8
24.1
31.3

72
24
18

72

2900

11

4.5

174

80-200(I)

80

70
100
130

19.4
27.8
36.1

54
50
42

65
74
73

2900

22

4.0

251

80-200(I)A

80

65.4
93.5
121.6

18.2
26.0
33.8

47.5
44
37

64
73
72

2900

18.5

4.0

220

80-200(I)B

80

61
87
113

16.9
24.2
31.4

41
38
32

71

2900

15

4.0

198

80-250(I)

80

70
100
130

19.4
27.8
36.1

87
80
68

62
69
68

2900

37

4.0

330

80-250(I)A

80

65.4
93.5
121.6

18.2
26.0
33.8

76
70
59.5

61
68
67

2900

30

4.0

315

80-250(I)B

80

61
87
113

16.9
24.2
31.4

65
60
51

66

2900

30

4.0

315

80-315(I)

80

70
100
130

19.4
27.8
36.1

132
125
114

55
66
67

2900

75

4.0

675

80-315(I)A

80

66.5
95
123.6

18.5
26.4
34.3

119
113
103

55
66
67

2900

55

4.0

535

80-315(I)B

80

63
90
117

17.5
25
32.5

106.6
101
92

65

2900

45

4.0

420

80-315(I)C

80

58
82
107

16.1
22.8
29.7

90
85
76

63

2900

37

4.0

366

型号

口径

流量

扬程

效率

转速

电机功率

必需汽蚀余量

重量

mm

m3/h

L/S

m

%

r/min

KW

(NPSH)r

Kg

100-100

100

70
100
130

19.4
27.8
36.1

13.6
12.5
11

66
76
75

2900

5.5

4.5

113

100-100A

100

62.6
89
116

17.4
47
32.2

11
10
8.8

64
74
74

2900

4

4.5

91

100-125

100

70
100
130

19.4
27.8
36.1

23.5
20
14

70
76
65

2900

11

4.5

169

100-125A

100

62.6
89
116

17.4
24.7
32.2

19
16
11

68
74
63

2900

7.5

4.5

118

100-160

100

70
100
130

19.4
27.8
36.1

36.5
32
24

70
76
65

2900

15

4.5

191

100-160A

100

65.4
93.5
121.6

18.2
26.0
33.8

32
28
21

68
74
67

2900

11

4.5

181

100-160B

100

60.6
86.6
112.5

16.8
24.1
31.3

27
24
18

72

2900

11

4.5

181

100-200

100

70
100
130

19.4
27.8
36.1

54
50
42

65
74
73

2900

22

4.0

245

100-200A

100

65.4
93.5
121.6

18.2
26.0
33.8

47.5
44
37

64
73
72

2900

18.5

4.0

215

100-200B

100

61
87
113

16.9
24.2
31.4

41
38
32

71

2900

15

4.0

193

100-250

100

70
100
130

19.4
27.8
36.1

37
80
68

62
69
68

2900

37

4.0

345

100-250A

100

65.4
93.5
121.6

18.2
26.0
33.8

76
70
59.5

61
68
67

2900

30

4.0

330

100-250B

100

61
87
113

16.9
24.2
31.4

65
60
51

66

2900

30

4.0

330

100-315

100

70
100
130

19.4
27.8
36.1

132
125
114

55
66
67

2900

75

4.0

689

100-315A

100

66.5
95
123.6

18.5
26.4
34.3

119
113
103

65
66
67

2900

55

4.0

549

100-315B

100

63
90
117

17.5
25
32.5

106.6
101
92

65

2900

45

4.0

439

100-315C

100

58
82
107

16.1
22.8
29.7

90
85
76

63

2900

37

4.0

385

型号

口径

流量

扬程

效率

转速

电机功率

必需汽蚀余量

重量

mm

m3/h

L/S

m

%

r/min

KW

(NPSH)r

Kg

100-100(I)

100

96
160
192

26.7
44.4
53.3

14
12.5
10

64
73
70

2900

11

4.5

115

100-125(I)

100

96
160
192

26.7
44.4
53.3

24
20
14

62
74
69

2900

15

4.5

168

100-125(I)A

100

84
140
168

23.3
39
46.7

20
17
12

64
72
68

2900

11

4.5

168

100-160(I)

100

96
160
192

26.7
44.4
53.3

36
32
27

69
79
75

2900

22

5.6

210

100-160(I)A

100

84
140
168

23.3
39
46.7

32
28
23.5

66
76
72

2900

18.5

5.0

210

100-200(I)

100

96
160
192

26.7
44.4
53.3

53
50
45

69
79
78

2900

37

5.2

402

100-200(I)A

100

84
140
168

23.3
39
46.7

48
45
40

64
74
73

2900

30

4.5

395

100-200(I)B

100

60
100
120

16.7
27.8
33.3

43
40
36

72

2900

22

4.5

360

100-250(I)

100

96
160
192

26.7
44.4
53.3

83
80
72

65
77
74

2900

55

4.8

560

100-250(I)A

100

84
140
168

23.3
39
46.7

75
72
65

60
72
69

2900

45

4.5

420

100-250(I)B

100

60
100
120

16.7
27.8
33.3

68
65
58

70

2900

37

4.5

400

100-350

100

60
100
120

16.7
27.8
33.3

153.6
150
142

72
57
74

2900

90

4.0

950

100-350A

100

61
87
113

16.9
24.2
31.4

145.6
142
134

75

2900

75

4.0

830

100-350B

100

58
82
107

16.1
22.8
29.7

138.6
135
127

75

2900

55

4.0

600

型号

口径

流量

扬程

效率

转速

电机功率

必需汽蚀余量

重量

mm

m3/h

L/S

m

%

r/min

KW

(NPSH)r

Kg

125-100

125

96
160
192

26.7
44.4
53.3

13
12.5
12

82

2900

11

4.0

180

125-100A

125

86
143
172

23.9
39.7
47.8

10.4
10
9.6

77

2900

7.5

4.0

125

125-125

125

96
160
192

26.7
44.4
53.3

22.6
20
17

80

2900

15

4.0

220

125-125A

125

86
143
172

23.9
39.7
47.8

18
16
13.6

77

2900

11

4.0

210

125-160

125

96
160
192

26.7
44.4
53.3

36
32
28

78

2900

22

4.0

265

125-160A

125

90
150
180

25
41.7
50

31.5
28
24.5

76

2900

18.5

4.0

230

125-160B

125

83
138
166

21.7
38.3
46.1

27
24
21

73

2900

15

4.0

215

125-200

125

96
160
192

26.7
44.4
53.3

55
50
46

77

2900

37

5.5

395

125-200A

125

90
150
180

25
41.7
50

48.4
44
40.5

76

2900

30

5.5

380

125-200B

125

83
138
166

21.7
38.3
46.1

41.3
37.5
34.5

75

2900

22

5.5

320

125-250

125

96
160
192

26.7
44.4
53.3

87
80
73

75

2900

55

5.0

580

125-250A

125

90
150
180

25
41.7
50

76
70
84

74

2900

45

5.5

490

125-250B

125

83
138
166

21.7
38.3
46.1

65
60
55

73

2900

37

5.5

430

125-315

125

96
160
192

26.7
44.7
53.3

133
125
119

70

2900

90

5.0

790

125-315A

125

90
150
180

25
41.7
50

117
110
104.6

70

2900

75

5.0

710

125-315B

125

86
143
172

23.9
39.7
47.8

106.4
100
95.2

69

2900

75

5.0

705

125-315C

125

80.5
134
161

22.4
37.2
44.7

96
88
86

67

2900

55

5.0

585

型号

口径

流量

扬程

效率

转速

电机功率

必需汽蚀余量

重量

mm

m3/h

L/S

m

%

r/min

KW

(NPSH)r

Kg

150-125

150

96
160
192

26.7
44.4
53.3

22.6
24
17

66
76
76

2900

11

4.0

210

150-125A

150

90
150
180

25
41.7
50

18
16
13.6

77

2900

7.5

4.0

130

150-160

150

96
160
192

26.7
44.4
53.3

36
32
27

75

2900

22

4.0

270

150-160A

150

90
150
180

25
41.7
50

32
28
23.5

76

2900

18.5

4.0

230

150-160B

150

84
140
168

23.3
39
46.7

27
24
21

73

2900

15

4.0

220

150-200

150

96
160
192

26.7
44.4
53.3

55
50
46

77

2900

37

5.5

395

150-200A

150

90
150
180

25
41.7
50

48.4
44
40.5

76

2900

30

5.5

380

150-200B

150

84
140
168

23.3
39
46.7

41
38
34

75

2900

22

4.0

275

150-250

150

140
200
260

38.9
55.6
72.2

87
80
73

75

2900

75

5.0

630

150-250A

150

131
187
243

36.4
51.9
67.5

76
70
84

74

2900

55

5.5

530

150-250B

150

121
173
225

33.5
48.1
62.5

65
60
55

73

2900

45

5.5

480

150-315

150

140
200
260

38.9
55.6
72.2

133
125
119

70

2900

110

5.0

1080

150-315A

150

131
187
243

36.4
51.9
67.5

117
110
104.6

70

2900

90

5.0

820

150-315B

150

121
173
225

33.5
48.1
62.5

106.4
100
95.2

69

2900

75

5.0

770

150-315C

150

112
160
208

31.3
44.4
57.8

96
88
86

67

2900

55

5.0

640

150-350

150

96
160
192

26.7
44.4
53.3

153.6
150
142.8

80

2900

110

5.5

970

150-350A

150

90
150
180

25
41.7
50

145.6
142
134.8

70

2900

90

5.2

790

150-350B

150

84
140
168

23.3
39
46.7

138.6
135
127.8

65
76
74

2900

75

5.5

705

型号

口径

流量

扬程

效率

转速

电机功率

必需汽蚀余量

重量

mm

m3/h

L/S

m

%

r/min

KW

(NPSH)r

Kg

 

附件安装方法
一、硬性联接

1、直接安装1进口阀门2直管3弯管4直管5进管6弯管7直管8出口阀门
2、联接板安装1进口阀门2直管3弯管4直管5联接板6直管7弯管8直管9出口阀门

二、柔性联接

1、联接板,加隔振器安装1进口阀门2挠性接头3弯管4直管5联接板6隔振器7直管8弯管9挠性接头10出口阀门
2、联接板,加隔振器安装1进口阀门2挠性接头3直管4联接板5隔振器6直管7出口阀门

 

易损件(机械密封及轴承)

电机功率

轴     承

机械密封

0.18KW、0.12KW

201

104-12

0.25KW、0.37KW

202

104-14

0.55KW、0.75KW、1.1KW-2

204

109-18

1.1KW-4、 1.5KW、2.2KW-2

205

109-20

2.2KW-4、3KW

206

109-25

4KW

306

109-25

5.5KW、7.5KW-2、7.5KW-4

308

109-25

11KW、15KW、 18.5KW-2、22KW-2

309

109-35

18.5KW-4、22KW-4

311

109-45

30KW、37KW-2

312

109-45

37KW-4、45KW

313

109-45

55KW、75KW-2、90KW-2

314

109-55

 

管路损耗参考表

管径mm

流量(L/S)

1

2

4

6

8

10


25

3.2

13





38

3.5

14

15




15

20


50

0.8

3.1

13

29





25

30


65


0.8

3.2

7.1

13

20





40

50


75


0.4

1.6

3.3

5.9

9.6

21.6






60

70


100



0.4

0.8

1.3

2.1

6.8

8.6

13

19.





80

90


125




0.2

0.4

0.6

1.3

2.7

4.1

5.9

10.






100

110


150





0.1

0.2

0.5

1.1

1.6

2.3

4.2

6.4

9.4






120

130


175






0.1

0.2

0.5

0.7

1.0

1.9

2.9

4.3

5.8

7.7

9.6





140

160


200







0.1

0.2

0.3

0.5

0.9

1.5

2.1

2.9

3.7

4.7

6.1

7.2

8.5




180

200

250








0.1

0.1

0.2

0.3

0.5

0.7

0.9

1.2

1.5

1.9

2.3

2.8

3.3

3.7

4.9

5.2


300










0.1

0.1

0.2

0.3

0.4

0.5

0.6

0.7

0.9

1.1

1.3

1.5

2.0

2.4

3.0

阀及弯管折合直管长度

种类

折合直管直径倍数

备注

全开闸阀

12

未畅开加倍

标准弯管

25


逆止阀

100


底阀

100

部分堵塞加倍

一定管路直么之流量限制

管路直径流量流速mmL/Sm/s2512.04382.51.69504.172.12656.672.017510.02.2610018.42.33
管路直径流量流速mmL/Sm/s12530.02.4415043.02.4517560.02.4920083.32.69250133.32.72300192.02.71

 

故障原因及排除方法

故障现象

可能产生的原因

排除方法

1、水泵不出水

 a、进出口阀门未打开,进出管路阻塞,流道叶轮阻塞。
 b、电机运行方向不对,电机缺相转速很慢。
 c、吸入管漏气。
 d、泵没灌满液体,泵腔内有空气。
 e、进口供水不足,吸程过高,底阀漏水。
 f、管路阻力过大,泵选型不当。

 a、检查,去除阻塞物
 b、调整电机方向,坚固电机接线
 c、拧紧各密封面,排除空气
 d、打开泵上盖或打开排气阀排尽空气
 e、停机检查、调整(并网自来水管和带吸程使用易出现此现象
 f、减少管路弯道,重新选泵。

2、水泵流量不足

 a、先按1.原因检查。
 b、管道、泵流产叶轮部分阻塞、水垢沉积、阀门开度不足
 c、电压偏低
 d、叶轮磨损

 a、先按1.排除
 b、去除阻塞物重新调整阀门开度。
 c、稳压。
 d、更换叶轮。

 

3、功率过大

 a、超过额定流量使用。
 b、吸程过高。
 c、泵轴承磨损。

 a、调节流量关小出口阀门。
 b、降低
 c、更换叶轮

 

4、杂音振动

 a、管路支撑不稳。
 b、液体混有气体。
 c、产生汽蚀。
 d、轴承损坏。
 e、 电机超载发热运行。

 a、稳固管路
 b、提高吸入压力、排气
 c、降低真空度
 d、更换轴承
 e、搞整按5。

5、电机发热

 a、流量过大、超载运行。
 b、碰擦。
 c、电机轴承损坏。
 d、电压不足。

 a、关小出口阀。
 b、检查排除。
 c、更换轴承。
 d、稳压。

6、水泵漏水

 a、机械密封磨损。
 b、水泵体有砂孔或破裂。
 c、密封面不平整。
 d、安装螺栓松懈。

 a、更换。
 b、焊补或更换。
 c、修整。
 d、坚固。

化工泵其它系列产品

  • ISWHD卧式低转速单级单吸直联管道化工泵

  • GBL立式浓硫酸化工泵

  • IH卧式不锈钢单级单吸化工泵

  • CWB漩涡式磁力化工泵

  • ISWH卧式单级单吸直联管道化工泵

  • CQB-G高温磁力化工泵

  • CQB-F氟塑料磁力化工泵

  • CQB不锈钢磁力化工泵

  • CQF氟塑料磁力化工泵

  • CQ不锈钢磁力化工泵

  • ZCQ不锈钢磁力自吸化工泵

  • FY不锈钢液下化工泵

  • ZWPL不锈钢无堵塞直联式自吸化工泵

  • ZWP不锈钢无堵塞自吸式化工泵

  • CQB-L立式管道磁力化工泵

  • PWF卧式不锈钢悬臂离心化工泵

  • SL立式玻璃钢化工泵

  • S型卧式直联玻璃钢化工泵

  • FPZ增强聚丙烯耐腐蚀自吸化工泵

  • PF/FP耐腐蚀聚丙烯塑料化工泵

  • HYL/HYLZ不锈钢自吸耐腐蚀离心化工泵

  • GBW卧式浓硫酸化工泵

  • GBF立式衬氟管道化工泵

  • FZB自吸式氟塑料合金化工泵

  • FS玻璃钢化工泵

  • FSB氟塑料合金离心化工泵

  • QBY气动隔膜化工泵

  • DBY电动隔膜化工泵

  • I-1B不锈钢浓浆化工泵

  • ZXL卧式直联自吸离心化工泵

  • ZX自吸离心化工泵

  • AFB卧式不锈钢耐腐蚀离心化工泵

  • 102/103/104/105型塑料化工泵

  • IHG立式不锈钢管道化工泵

  • IHF卧式单级单吸氟塑料合金化工泵

  • G型单螺杆化工泵



联系我们

输入手机号我们将及时与您取得联系

点击立刻咨询

提交成功!

上海海洋泵阀制造有限公司提示您:

请输入正确的手机号码!
确定
关闭
获取产品图册资料

通过手机号验证后将自动下载

手机号码格式不正确,请重新输入
获取验证码

短信验证码已发送,可能会有延后请耐心等待

关闭
高级工程师
专业为您选型报价

输入手机号我们将及时与您取得联系

提交成功!

上海海洋泵阀制造有限公司提示您:

请输入正确的手机号码!
确定
工程师一对一服务

点击立刻咨询