G型单螺杆泵
G型单螺杆泵
G型单螺杆泵

产品型号:

产品介绍

型号意义
G型单螺杆泵型号意义

 

前言
G型单螺杆泵在发达国家已广泛使用,国外多数称单螺杆泵为“莫诺泵”《MONOPUMPS》,德国称为“偏心转子泵”。由于其优良的性能,近年来在国内的应用范围也在迅速扩大。
它的特点是对介质的适应性强、流量平稳、压力脉动动小、自吸能力高。
我们对相关的G型单螺杆泵产品,作了分析与研究,博取众长,对自己的产品进行不断的改革创新。目前我单位的产品已自成一个体系,压力为0.6~1.2MPa,特殊要求压力可达3MPa,可满足广大用户对G型单螺杆泵的不同需求。
我单位生产的泵,质量可靠,实行三包,价格也相对较低,同时确保备品备件的正常供应。
本单位热忱为广大用户服务,接受用户对特殊要求G型单螺杆泵的设计和制造任务。

 

 

 

原理与特性
G型单螺杆泵是按迥转啮合容积式原理工作的新型泵种,主要工作部件是偏心螺杆(转子)和固定的衬套(定子)。
由于该二部件的特殊几何形状,分别形成单独的密封容腔,介质由轴向均匀推行流动,内部流速低,容积保持不变,压力稳定,因而不会产生涡流和搅动。每级泵的输出压力为0.6MPa,扬程60m(清水),自吸高度一般在6m,适用于输送介质温度80℃以下(特殊要求可达150℃)。
因定子先用多种弹性材料制成,所以这种泵对高粘度流体的输送和含有硬质悬浮颗粒介质或含有纤维介质的输送,有一般泵种所以能胜任的特性。其流量与转速成正比。
传动可采用联轴器直接传动,或采用调速电机,三角带,变速箱等装置变速。
这种泵另件少,结构紧凑,体积小,维修简便,转子和定子是本泵的易损件,结构简单,便于装拆。

 

 

 

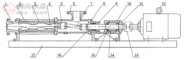
结构图

G型单螺杆泵的结构

1

出料口

2

拉杆

3

定子

4

螺杆轴

5

万向节总成

6

吸入口

7

连节轴

8

填料座

9

填料压盖

10

轴承座

11

轴承盖

12

电动机

13

连轴器

14

轴套

15

轴承

16

传动轴

17

底座



 

 

 

应用范围
一般说来G型单螺杆泵可作为一种通用有关当局。运行速度可高可低,泵的出口额定压力可随泵的级数增加而增加,每增加一级,压力就增加0.6MPa,所以使用范围极广。
1、环境保护:工业污水、生活污水、含有固体颗粒及短纤维的污泥浊水的输送。特别适用于油水分离器,板框压滤机等设备。
2、船舶工业:轮底清洗、油水、油渣、油污水等介质的输送。
3、石油工业:输送原油。近年来,尤其成功地抽吸地下千米之深的原油与水的混合物,煤田里的煤田气和水的混合物,从而大大降低了机械采油、采煤田气的成本。当油田到了后期,使用螺杆泵往地层内灌注聚合物增加油田采收率。
4、医药、日化:各种粘调浆、乳化液、各种软膏化装品等的输送。
5、食品罐头业:各种粘稠淀粉、食油、蜂密、糖酱、果浆、奶油、鱼糜肉糜以及其下脚料的输送。
6、酿造业:各种发酵粘稠液、浓酒槽、粮食制品渣各种酱类、浆和含有块关固态物的粘液等。
7、建筑工业:水泥沙浆、石灰浆、涂料及其经糊状体的喷涂与输送。
8、采矿工业:矿井内的含固体颗粒的地下和污浆水等排送到地面。
9、化学工业:各种悬浮液、油脂、各种胶体浆、各种粘合剂。
10、印刷、造纸工业:高粘度油墨、墙纸的PVC高分子塑料糊和各种浓度的纸浆,短纤维浆料的输送。

 

 

 

性能参数

型 号

转速
r/min

流量
m3/h

压力
MPa

电机
KW

扬程
m

进口
mm

出口
mm

允许颗粒直径
mm

允许维修长度
mm

G20-1

960

0.8

0.6

0.75

60

25

25

1.5

25

G20-2

960

0.8

1.2

1.5

60

25

25

1.5

25

G25-1

960

2

0.6

1.5

60

32

25

2

30

G25-2

960

2

1.2

2.2

120

32

25

2

30

G30-1

960

5

0.6

2.2

60

50

40

2.5

35

G30-2

960

5

1.2

3.0

120

50

40

2.5

35

G35-1

960

8

0.6

3.0

60

65

50

3

40

G35-2

960

8

1.2

4.0

120

65

50

3

40

G40-1

960

12

0.6

4.0

60

80

65

3.8

45

G40-2

960

12

1.2

5.5

120

80

65

3.8

45

G50-1

960

20

0.6

5.5

60

100

80

5

50

G50-2

960

20

1.2

7.5

120

100

80

5

50

G60-1

960

30

0.6

11

60

125

100

6

60

G60-2

960

30

1.2

15

120

125

100

6

60

G70-1

960

45

0.6

15

60

150

125

8

70

G70-2

720

45

1.2

18.5

120

150

125

8

70

G85-1

720

65

0.6

15

60

150

150

10

80

G105-1

500

100

0.6

22

60

200

200

15

110

G135-1

400

150

0.6

37

60

250

250

20

150

请注意
1、性能表的试验数据以20℃的清水为介质,粘度是1mm2/s。
2、当泵输送高粘度式有颗粒的介质时,根据介质的性质。泵的转速必须不同。
3、当泵输送不同的磨损性介质时,泵的转速也必须不同。

 

 

 

注意事项
1、开机前必先确定运转方向,不得反转。
2、严禁在无介质情况下空运转,以免损坏定子。
3、新安装或停机数天后的泵,不能立即起动,应先向泵体内注入适量机油,再用管子钳板动几转后才可起动。
4、输送高粘度或含颗粒及腐蚀性的介质后,应用水或深剂进行冲洗,防止阻塞,以免下次起动困难。
5、冬季应排除积液,防止冻裂。
6、使用过程中轴承箱内应定期加润滑油,发现轴端有渗流时,要及时处理或调换油封。
7、在运行中如发生异常情况,应立即停车检查原因,排除故障。

 

 

 

故障原因及排除方法

故障

原因

排除方法

1、泵不能起动

a、新泵转、定子配合过紧b、电压、电流太低c、介质粘度过高

a、用工具人力帮助转动几圈b、检查、调整c、稀释料液

2、泵不出液

a、旋转方向不对b、吸入管路有问题c、介质粘度过高d、转、定子损坏或传动部件损坏e、泵内导物堵塞

a、调整方向b、检查泄漏,打开进出口阀门c、稀释料液d、检查更换c、排除更换

3、流量达不到

a、管路泄漏b、阀门未全部打开或局部堵塞c、转速太低d、转、定子磨损

a、检查修理管路b、打开全部阀门、排除堵塞物c、调整转速d、更换损坏另件

4、压力达不到

a、转子、定子磨损

a、更换转、定子

5、电机过热

a、电机故障b、出口压力过高,电机超载c、定子烧坏或粘在转子上

a、检查电机、电压、电流、电频b、检查扬程,开足出口阀门,排除阻塞c、更换损坏件

6、流量压力急剧下降

a、管道突然堵塞或泄漏b、定子磨损恶劣c、液体粘度突然改变d、电压突然下降

参照以下几项,逐项排除

7、轴密封处大量泄漏液体

a、软填料磨损b、机械密封损坏

a、压紧或更换填料b、修复或更换

螺杆泵其它系列产品

  • G型单螺杆泵


您还可能对以下产品感兴趣
    未查询到相关记录!

联系我们

输入手机号我们将及时与您取得联系

点击立刻咨询

提交成功!

上海海洋泵阀制造有限公司提示您:

请输入正确的手机号码!
确定
关闭
获取产品图册资料

通过手机号验证后将自动下载

手机号码格式不正确,请重新输入
获取验证码

短信验证码已发送,可能会有延后请耐心等待

关闭
高级工程师
专业为您选型报价

输入手机号我们将及时与您取得联系

提交成功!

上海海洋泵阀制造有限公司提示您:

请输入正确的手机号码!
确定
工程师一对一服务

点击立刻咨询