型号意义

产品概况
SZ型水环式真空泵及压缩机是用来抽吸或压缩空气和其它无腐蚀性,不溶于水,不含有固体颗粒的气体,以便在密封系统中形成一定的真空度,常用于真空蒸发、真空浓缩、真空干燥、真空抽滤,真空送料等工艺过程。但吸入气体允许混有少量液体它被广泛运用于机械、石油化工、制药、食品、制糖工业及电子领域。 由于在工作过程中,气体的压缩是等温的,所以在压缩和抽吸易燃、易爆气体时,不易发生危险,所以SZ型水环式真空泵应用更加广泛。
SZ型有SZ-1、SZ-2、 SZ-3及 SZ-4四种规格,SZ型水环式真空泵所形成的真空度分别在86~95%之间。SZ-1及 SZ-2所能形成的大压力为1.0~1.4公斤/厘米2,SZ-3及SZ-4在所配电动机功率容许下的大压力为1.5公斤/厘米2,若增加电动机功率,大压力为2.1公斤/厘米2(泵型意义:如SZ-1、S-水环式、Z-真空泵,1-泵的序号)。
工作原理
如图1所示,叶轮①偏心地装在SZ真空泵体②内,起动时向泵内注入一定高度的水, 因此当叶片轮旋转时,水受离心力的作用而在SZ真空泵壁上形成-旋转水环③,水环上部内表面与轮毂相切,沿箭头主向旋转,在前半转的过程中,水环内表面逐渐与轮毂脱离,因此在叶轮叶片间形成空间并逐渐扩大,这样就在吸气口吸入空气;在后半转的过程中,水环的内表面渐渐与轮毂靠近,叶片间的空间容积随着缩小,叶片间的空气因此被压缩而排出。
如此叶轮每转动一周,叶片间的空间容积改变一次,每个叶片间的水好像活塞一样往复一次,SZ型水环式真空泵就连续不断地抽吸气体。
由于在工作中,水会发热,同时一部分水会和气体一起被排走,因此SZ型水环式真空泵在工作中,泵中必须不断地供给冷水,以冷却和补充泵内消耗的水。供给的冷水以15℃为宜。
当SZ型水环式真空泵排出的气体是废气时候,在排气一端接有一水箱,废气和所带的一部分水排入水箱后,气体再由水箱的出管跑掉,而水就落入水箱的底部经回水管再回到泵内使用,如果循环时间长了便会发热,这时需从水箱的供水处供给一定的冷水。
由于在工作中,水会发热,同时一部分水会和气体一起被排走,因此在工作中必须不断地供给冷水,以冷却和补充SZ型水环式真空泵内消耗的水。 当SZ型水环式真空泵排出的气体是废气的时候,在排气一端接有一水箱,废水和所带的一部分水箱后,气体再由水箱的出管跑掉,而水就落入水箱的底部经回水管再回到泵内使用,如果水循环时间长了便会发热,这时需从水箱的供水处供给一定的冷水。
当压缩机用时则在排气一端要接上一气水分离器,带水的气体进入分离器时便自动分开,气体山分离器的出口送到需要的地方去,而热水则经过自动的开关放出。(压缩气体时容易发热,水由SZ型水环式真空泵处出来后便成了热水),在分防离器的底部也要不断地供给冷水补充被放走的热水,同时起冷却作用。
| SZ水环式真空泵工作原理图1叶轮2泵体3水环4进气管5吸气孔6排气孔7排气管 |
| SZ水环式真空泵结构图a底脚b真空度调节阀门c进气管d吸气孔e橡皮阀f排气管g排气孔u进水孔 |
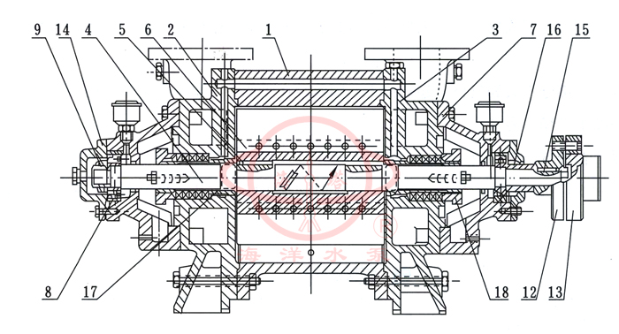
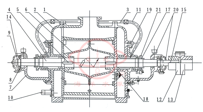
结构说明
SZ型水环式真空泵的结构如图所示:
SZ型水环式真空泵由泵体(1)及两个侧盖(2)(3)所组成(图3及图4)侧盖下部有泵脚(a)支撑(图2),在上部是两管子即进气管(c)和排气管(f),这两个管子通过侧盖上的吸气孔(d)及排所孔(g)与泵腔相连,泵体上的进气管与排气管和侧盖上的吸气孔及排气孔相通,轴(4)偏心地安装在SZ型水环式真空泵体中,叶轮(6)用键(5)固定于轴上。叶轮与侧盖之间的间隙,用泵体和侧盖间的垫来调整总间隙,用轴套(17)推动叶轮,从而调整叶轮两端的间隙。此间隙决定气体在泵内由进气口至排气口流动中损失的大小。
结构图

|
1 | 泵体 | 2 | 后盖 | 3 | 前盖 | 4 | 泵轴 | 5 | 平键 | 6 | 叶轮 | 7 | 轴承瓦架 | 8 | 滚珠轴承 |
9 | 圆螺母 | 12 | 泵联轴器 | 13 | 电机联轴器 | 14 | 轴承盖 | 15 | 键 | 16 | 定位圈 | 17 | 轴套 | 18 | 填料压盖 |

|
1 | 泵体 | 2 | 后盖 | 3 | 前盖 | 4 | 泵轴 | 5 | 平键 | 6 | 叶轮 | 7 | 轴承瓦架 | 8 | 滚珠轴承 | 9 | 圆螺母 | 10 | 进水管 |
11 | 水封管 | 12 | 泵联轴器 | 13 | 电机联轴器 | 14 | 轴承盖 | 15 | 键 | 17 | 轴套螺母 | 18 | 轴套 | 19 | 填料函 | 20 | 毛毡圈 | 21 | 填料压盖 |
SZ型水环式真空泵填料函配备在示两侧盖(2)(3)内,在填料后面,有一个水室,水由管子(11)进入此室,一部分水通过填料冷却填料函,另一部分进入泵体,在离心力的作用下沿叶片端面流动而充满于整个叶轮和侧盖之间。
滚珠轴承(8)用圆螺母(9)固定在轴上。
在侧盖侧壁上(图2)排气孔(g)下面有几行圆孔(e)有橡皮阀(球形)关闭,这些孔的得作用是当时轮叶片间的气体压力达到排气压力时,在排气口以前就将气体自动放出,因此就减少了因气体压力过大而消耗的功率。
SZ-1及SZ-2的结构图(图3)所示,其与SZ-3及SZ-4结构(图4)不同之处是:进、排气管分别在两个侧盖上,一根管与进气口相通,一根管与排气口相通,泵内无橡皮阀。
进气管(10)与气水分离器联在一起供给泵所需要的循环水,为了使泵腔的两端面间隙和填料得到很好的密封,必须由水封管(11)不断地供给干净的冷水。在联轴器端为了不使轴承内油外漏,因此装有毛毡圈(20)来密封。
设备说明
SZ-1及SZ-2作SZ型水环式真空泵(图7)所示,作压缩机如(图8)所示,SZ-3作水环式真空泵或压缩机如(图9)所示,SZ-4作水环式真空泵或压缩机如(图10)所示,他们都由水环式真空泵(1),弹性联轴器,电动机(2),气水分离器(3),管路(4)及管路(5),溢水管(6)等组成。
SZ型水环式真空泵及压缩机与气水分离器的工作过程如(图11)所示。气体由管路(11)经阀门(2)进入SZ型水环式真空泵(1),然后经导气弯管(10)进入气水分离器或水箱(3)中,带水的气体在气水分离器中分离开后,气体再经阀门(9)送到需要的地方去,而水则留在水箱内,为了使箱内的水位保持一定而设有自动浮子开关(4),当水位升高时浮子升起放水阀被打开,水就从管(12)流出,当水位降低时浮子下落,放水阀被关死,这样箱内的水便能保持着需要的水位。内水环的用水是由水箱供给的,供水量的大小靠连通管(6)上的阀门(7)调正。水由泵出来到水箱内,由水箱回到泵内,循环次数多了便会发热,尤其压缩气体发热更快,这样就而要由管(5)向箱内注入冷水。有时排气量超出需要时可将阀门(8)打开进行调解。
抽气设备与压气设备的区别仅在于气水分离器的构造有所不同,在第一种情况下,气水分离器中的压力等于大气压,在第二种情况下则等于排气压力,故多余的水通过浮子调整器从气水分离内放走。
技术规范
型号 | 真空泵吸气量 | 压缩机排气量 | 电机功率KW | 转速r/min | 水耗量L/min | 真空度 | 大压力MPa | 泵重㎏ |
当真空度为(m3/min) | 当压力为(㎏/㎝2) | 真空泵 | 压缩机 |
0 | 40 | 80 | 0 | 0.5 | 1 |
SZ-1 | 1.5 | 0.64 | 0.12 | 1.5 | 1.0 | - | 4 | 5.5 | 1440 | 10 | 84 | 1 | 140 |
SZ-2 | 3.4 | 1.65 | 0.25 | 3.4 | 2.6 | 1.5 | 7.5 | 11 | 1450 1460 | 30 | 87 | 1.4 | 150 |
SZ-3 | 11.5 | 6.8 | 1.5 | 11.5 | 9.2 | 7.5 | 22 | 37 | 970 | 70 | 92 | 2.1 | 463 |
SZ-4 | 27 | 17.6 | 3 | 27 | 26 | 16 | 70 | 80 | 733 735 | 100 | 93 | 2.1 | 975 |
启动与停车
一、起动:
经过长期停车的泵在开动以前,必须用手转动联轴器数周,以便证实没有卡住或损伤现象。
1、关闭进气管上的闸阀(2)(图11)。
2、如果排汽管上装有闸阀(9)也应将其关闭。
3、向填料函和气水分离器内注水。
4、当气水分离器往外溢水时,开动电动机。
5、全开由气水分离器向泵给水管路(6)上的球形阀(7)。
6、打开排气管上的闸阀(9)。
7、打开排气管上的闸阀(2)。
8、用球形阀(7)调整由气水分离器向泵送水的水量,以便在所要求的技术条件下运转,使功耗小。
9、调整由进水管(5)向气水分离器的送水量,以便用小的水量消耗,保证泵所要求的技术规范。
10、调整向填料函的送水量,以便用小的水量消耗而保证填料函的密封性,真空泵在极限真空度下工作时,由于泵内产生物理作用而产生爆料声,表示泵发生了毛病,此时泵应停车。
二、停车按以下顺序:
1、关闭进气管上的闸阀(2)(图11)。
2、关闭排气管上闸阀。
3、关闭电动机。
4、停止向填料、气水分离器内注水。
5、当气水分离器溢水管停止向外溢水后,关闭向泵注水管路。
6、上紧球形阀。
7、如泵停车时,必须拧开泵及气水分离器上的管堵把水放净。
维护
1、应定期的压紧填料,如填料因磨损而不能保证所需要的密封性时,应换新填料,填料不能压的过紧,正常压紧的填料允许水成滴漏出,其量不得不多,应用油浸的石棉绳作填料。
2、经常检查滚球轴承的工作和润滑情况。
3、正常工作的滚动轴承,其温度比周围温度高15℃-20℃,不允许超过55℃-60℃正常工作的轴承每年应装油3-4次。
每年至少清洗轴承一次,并将润滑油全部更换。
拆御与装配
1、拆卸
泵的拆卸分为部分拆检查并清洗,和完全拆卸修理及换零件,在拆泵前应将泵中的水孔放出,并应将管子(11)(图4)及管子(5)(图10)取下。
在拆卸时应将所有的垫谨慎地取下,如发生损坏应在装配时更换同样厚度的新垫。
泵应从不装有联轴器的一端开始拆卸,其顺序如下:
(1)松开并取下轴承盖(14)(图3)。
(2)松开滚动轴承,先用钩板手将圆螺(9)拧下。
(3)取下压紧填料压盖用的螺帽。
(4)由左侧盖的一边将轴承架(7)松开,同时转动二个拆卸螺钉(方头圆柱端螺钉),将??? 轴承及轴承架一起从轴上取下。
(5)使侧盖上的进气管和管子(10)脱开并松开示体与侧盖(2)的连接螺钉和泵脚的双头螺栓。在泵体下加垫,然后使侧盖和泵体离开,从轴上取下侧盖(侧盖取下后应将轴支住)。
(6)使泵体与另一侧盖离开,并由轴上取下。
泵的部分拆卸至此为止,此时泵的工作部分及各个另件可进行检查及清洗,进一步拆卸应按下列顺序继续进行。
(7)切除电动机与电机的连接,松开电动机与底座连接,并与泵分开。
(8)利用钩板手等拆卸工具,自轴上取下联轴器。
(9)从轴上取下联轴器的键(15)
(10)取下轴承盖。
(11)取下定位圈(6)(图3)或取下圆螺母(图4)松开滚动轴承。
(12)取下填料压盖的压紧螺帽。
(13)按照第4条将右边的轴承架和轴承一起取下。
(14)将轴(4)和叶轮(6)一起从泵体中取出。
(15)从轴上拧下轴套螺母(17)并取下轴套(8)
(16)从轴上取下叶轮。
2、装配
装配前应清洗残留在结合面上的执并仔细擦干涂上机油。
所有配合面和螺纹处应仔细擦净涂上机油。
清除轴承和轴承架内的旧油并加上新油。
旧垫损坏需要更换新垫时,厚度应该相同,装配顺序与拆卸顺序相反。
装配时主要的是调整叶轮端面和侧盖的间隙,在两边总的间隙对于SZ-3及SZ-4不得超过0.4毫米,对SZ-1及SZ-2不得超过0.3毫米。间隙由泵体(1)和侧盖(2)之间加垫取得,叶轮两端间隙应该均衡,可拧轴套螺母(17)以移动叶轮来保证。
真空泵其它系列产品
SZB水环式真空泵
SZ型水环式真空泵
2BE1水环式真空泵
2SK双级水环式真空泵
SKA(2BV)水环式真空泵
SK-Z直联水环式真空泵
SK水环式真空泵
H-150滑阀式真空泵
2XZ直联旋片式真空泵
2X双级油封机械真空泵